利索能及
我要发布

专利的价值

高新企业认定

享受最高40%税收减免

政府补贴扶持

新技术行业可享高额政府补贴

招标投标竞标

提升招投标企业竞争力

保护自身技术

防止竞争对手恶意抄袭

获取企业资质

便于申请各类企业资质

企业实力背书

证明企业自身技术实力

买专利 VS 申请专利

买专利

  • 最快30天可用
  • 无驳回风险,转让成功率高
  • 准备材料少,仅需提供基础材料
  • 有需要即可购买
VS

申请专利

  • 3-24个月
  • 有驳回风险,需设计计划实施
  • 准备材料多,撰写材料难度大
  • 需储备产品创新想法或技术
卖家出售
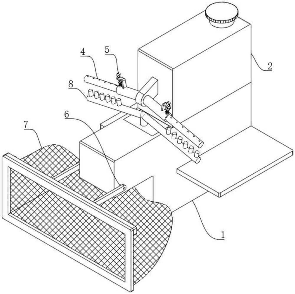
  • 一种可饲料投喂的渔场水体净化浮台 ¥1800

    本实用新型公开了一种可饲料投喂的渔场水体净化浮台,涉及渔场浮台技术领域。本实用新型包括浮台本体,所述浮台本体的顶部设置有进料组件,浮台本体的内部设置有第一驱动组件和第二驱动组件。本实用新型通过调节分料组件和进料组件的连接,饲料从进料组件处进入到调节分料组件中,经过调节分料组件的分散作用,饲料可分散在水体中,拉动限位组件移动使其与调节分料组件分离,此时调节分料组件与限位组件之间的固定被解除,可拉动调节分料组件进行移动,改变其长度来使得饲料的投料范围随之改变,可根据使用需要自行调节,使用更加灵活,投喂饲料时覆盖范围较大,可减少浮台本体的移动次数,有利于提高投喂效率。
  • 一种具有防护功能的自动化设备机架 ¥1800

    本实用新型属于自动化设备机架技术领域,具体涉及一种具有防护功能的自动化设备机架。包括机架本体,所述机架本体外设有隔离框,所述隔离框上设有控制按键,所述隔离框对应机架本体设有高效清洁组件。本实用新型通过风机一的送风和风机二排风,使得机架本体的工作位置,也就是产生很多碎屑的位置具有统一流向的气流,有效提高灰尘和碎屑的收集效率;另外,设计了倾斜的过滤网,能够将大颗粒的杂物进行有效过滤,并分离后滑落到收集框内,整体的收集更加方便,不会堵塞过滤网,工作持续性更好。
  • 一种纸杯生产用原料裁切废料收集装置 ¥1800

    本实用新型公开了一种纸杯生产用原料裁切废料收集装置,涉及纸杯裁切技术领域。本实用新型包括工作台,所述工作台底部安装有支腿,工作台一端安装有存放组件,工作台另一端安装有收卷组件,工作台中部安装有固定座,固定座上安装有固定架,固定架上安装有裁剪组件,工作台底部安装有放置架,放置架上安装有若干存放管,存放组件上套装有套筒,存放组件一端安装有锁定组件。本实用新型通过裁剪组件可对原纸进行裁切处理,被裁剪过的原纸废料可通过收卷组件的带动卷收在其套筒上,锁定组件可使其套筒在收卷组件上不再为固定状态,便于人工取下套筒,进而达到本装置能自主对其裁剪纸杯后的原料废料进行回收,提高生产效率。
  • 一种超精密滚动直线导轨磨床 ¥1800

    本实用新型公开了一种超精密滚动直线导轨磨床,涉及磨床技术领域。本实用新型包括底座、调节组件和除尘组件,所述底座的顶部设置有壳体,所述底座顶部的后侧固定连接有安装架,所述安装架的顶部固定连接有磨头主机,所述调节组件设置于壳体的内腔。本实用新型通过调节组件的设置,可通过电机与螺杆配合控制两个伸缩杆和活动板进行移动,通过活动板上安装的夹持板对工件进行夹持固定,复位气缸,使放置板不再与工件接触,工作人员手动转动工件,更换工件的加工面,使未被加工的一面朝向磨头主机,再次启动气缸,使放置板与工件接触,开启电磁铁对工件进行定位,不需要工作人员拆卸工件后重新夹持,提高工件的加工效率。
  • 一种耐用的全自动振动盘送料机构 ¥1800

    本实用新型公开了一种耐用的全自动振动盘送料机构,涉及振动盘技术领域。本实用新型包括底座、快速散热组件和清洁组件,所述底座顶部的后侧固定连接有振动盘本体,所述底座顶部的前侧固定连接有降温箱,所述快速散热组件设置于降温箱的底部,包括半导体制冷器,所述半导体制冷器顶部的冷端贯穿至降温箱的内腔。本实用新型通过快速散热组件的设置,可通过风机将外部空气通过进风管送入降温箱中,通过半导体制冷器降低空气的温度,使低温空气进入振动盘本体内部,使其内部的热量随着高速流动的空气通过排风管排出,在振动盘本体内部不断流动低温空气,防止其内部出现热量堆积,避免因高温导致其出现损坏,提高其使用寿命。
  • 一种用于高精度耐温金属制品的打磨设备 ¥1800

    本实用新型公开了一种用于高精度耐温金属制品的打磨设备,涉及耐温金属制品加工技术领域。本实用新型包括底座、角度控制组件和废屑收集组件,所述底座的顶部固定连接有网孔板,所述网孔板顶部的后侧固定连接有打磨机主机,所述角度控制组件设置于网孔板的顶部。本实用新型通过角度控制组件的设置,可通过复位电动推杆,使齿环不与第一齿轮啮合,开启伺服电机,伺服电机与第二齿轮配合带动第一齿轮和旋转板转动,通过旋转板驱动金属制品转动,改变其角度和打磨朝向,将金属制品调节至需要的角度和朝向后再次启动电动推杆,使齿环和第一齿轮啮合,实现对金属制品的定位,不需要工作人员频繁装卸金属制品,提高打磨效率。
  • 一种高精密导轨用定位铣孔装置 ¥1800

    本实用新型涉及一种高精密导轨用定位铣孔装置,包括底座、齿条、动力部件、安装座以及铣孔部件,所述齿条与底座固定连接,所述动力部件与齿条位置相对应,所述动力部件通过安装座与底座活动连接,所述铣孔部件通过安装座与底座活动连接;所述底座上设置有导向槽、放置槽以及避位槽,所述放置槽与避位槽位置相对应,所述安装座通过导向槽与底座活动连接;所述齿条与导向槽位置相对应;所述动力部件与齿条啮合;所述铣孔部件包括第一动力件、第二动力件以及安装板,所述第二动力件通过安装板与第一动力件活动连接。本实用新型提供一种高精密导轨用定位铣孔装置,降低了装置成本,降低了装置的维护成本,降低了装置的操作难度,节约了生产成本。
  • 一种基于电气自动化领域的多方向平台调节装置 ¥1700

    本实用新型涉及电气自动化技术领域,尤其为一种基于电气自动化领域的多方向平台调节装置,包括底座,所述底座内腔的右侧固定连接有气缸,所述气缸的输出端固定连接有齿板。本实用新型通过传动框上下运动带动导向块在导向槽的内腔上下滑动,传动框带动连接块上下运动,连接板带动放置台上下运动,放置台带动定位块在定位槽的内腔上下滑动,根据不同身高的使用者调节放置台的高度,从而达到多方向调节的目的,使得该平台调节装置具备多方向调节的优点,在实际使用过程中通过旋转盘能够调整操作台的角度,方便适应不同的工作环境,使用者无需手动调节操作平台的角度,为使用者的工作提供了便捷。
  • 隔热式桁架 ¥1600

    本实用新型公开了隔热式桁架,包括上弦型钢、下弦型钢和电木连接板;所述上弦型钢与所述下弦型钢相对并间距设置;所述电木连接板设于所述上弦型钢与所述下弦型钢之间。本实用新型的有益效果是:通过电木连接板将上弦型钢和下弦型钢隔断,利用电木连接板导热率低的特性,阻断上弦型钢和下弦型钢之间的热量传递,提升复合保温外墙的保温效果。
  • 一种连接组件 ¥1700

    本实用新型涉及连接技术领域,尤其涉及一种连接组件,其技术方案包括:固定板、活动板、弹簧、固定套和螺杆,所述固定板顶部两侧分别安装有轴承,两个所述固定套顶部分别开设有螺槽,两个所述螺杆分别与两个螺槽啮合连接,两个所述螺杆顶部焊接有连接板,所述连接板顶部两侧分别焊接有支撑板,两个所述支撑板相对一侧的连接板顶部呈矩形阵列安装有弹簧,四个所述弹簧顶部焊接有活动板,所述活动板两侧分别安装有滑块。本实用新型具有方便根据需要连接的结构调整高度,并吸收结构传递的压力,保持稳定的优点。
买家求购