利索能及
我要发布

专利的价值

高新企业认定

享受最高40%税收减免

政府补贴扶持

新技术行业可享高额政府补贴

招标投标竞标

提升招投标企业竞争力

保护自身技术

防止竞争对手恶意抄袭

获取企业资质

便于申请各类企业资质

企业实力背书

证明企业自身技术实力

买专利 VS 申请专利

买专利

  • 最快30天可用
  • 无驳回风险,转让成功率高
  • 准备材料少,仅需提供基础材料
  • 有需要即可购买
VS

申请专利

  • 3-24个月
  • 有驳回风险,需设计计划实施
  • 准备材料多,撰写材料难度大
  • 需储备产品创新想法或技术
卖家出售
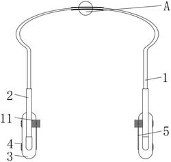
  • 一种五金件钻孔装置 ¥1800

    本实用新型公开了一种五金件钻孔装置,涉及五金钻孔领域。本实用新型通过将所需加工五金件放置在加工台面上,通过转动螺纹柱使两个夹板靠近或远离,完成对所加工五金件的夹持和放松;当需要调整钻头高度时,启动升降电机,通过齿轮带动齿条开始上下移动,使顶部的圆环调节装置同步移动,达到调整钻头高度的效果;开始加工时,推动握把,使限位件开始移动,带动钻孔部件沿圆环轮廓移动,此时动伸缩件移动,使转动圆盘转动,当需要制作不同大小圆弧钻孔时,两个相邻限位槽对齐,将伸缩件伸缩,使限位件更换限位槽进入不同大小圆环路径移动。
  • 一种金属加工排料箱 ¥1800

    本实用新型公开了一种金属加工排料箱,涉及干燥桶技术领域。本实用新型包括干燥柜、设置在干燥柜内侧的料框、设置在干燥柜下的底座、设置在干燥柜下的接料斗,所述干燥柜内的一侧设有弹簧推杆,所述干燥柜内的一侧设有支撑轴,所述料框连接支撑轴,所述干燥柜内两侧设有卡锁,所述干燥柜内两侧设有滑板,所述滑板连接连杆,所述连杆连接连杆底座,所述连杆底座安装在柜门上,所述柜门安装有铰链,所述铰链连接在干燥柜内的一侧,所述干燥柜放置在底座上,所述底座的一侧设有接料斗,从而使金属粉的进出料以及收集更加便捷,提高了金属粉的回收效率。
  • 一种变压器检测工装 ¥1800

    本实用新型公开了一种变压器检测工装,涉及变压器领域。本实用新型包括检测平台,检测平台的顶部设置有移动组件,移动组件包括螺杆和正反电机,正反电机固定安装在螺杆的一端,螺杆上套设有滑块,滑块与螺杆螺纹配合,滑块的一端设置有夹持组件,且底部设置有传动组件,夹持组件包括夹持爪,传动组件包括连接杆,连接杆的一端固定安装有支撑块,支撑块的一端设置有散热组件,散热组件包括散热风叶,传动组件能够驱使散热风叶在水平移动的同时转动;不需要设置多余的散热器,节省资源,且能够延长变压器的使用寿命,以及防止在取下变压器时烫伤工作人员,进一步提高安全性和检测效果。
  • 一种动力锂电池用导电条 ¥1500

    本实用新型公开了一种动力锂电池用导电条,包括L形固定板、导电条主体和T形滑槽,两个L形固定板的一侧分别与三个锁紧螺丝的中部螺纹连接,六个锁紧螺丝的一端分别与两个夹板的一侧螺纹连接,两个夹板一侧的中部分别与导电条主体的两侧接触连接,导电条主体的底端固定设有粘连层,两个L形固定板顶端的一侧分别与五个安装螺丝的顶部螺纹连接,本实用新型一种动力锂电池用导电条,本导电条先通过L形固定板和安装螺丝在安装板上进行定位安装,接着将导电条主体放置在两个L形固定板之间,最后拧紧锁紧螺丝,则可通过夹板将导电条主体固定在两个L形固定板中间,实现导电条的精准安装,进而防止安全事故的发生。
  • 一种笔记本导电条及其安装结构 ¥1500

    本实用新型公开了一种笔记本导电条及其安装结构,包括导电条本体,导电条本体的底端固定设有多个连接块,多个连接块一侧的中部均开设有第一穿插孔,位于两端的两个第一穿插孔分别与两个穿插板外壁的中部穿插连接,两个穿插板外壁的两侧分别与两个安装座两侧的中部开设的第二穿插孔穿插连接,本实用新型通过穿插板分别与连接块开设的第一穿插孔和安装座开设的第二穿插孔连接,滑动块开设的凸型滑槽与凸型滑条滑动连接,且滑动块连接有固定卡块,固定卡块与穿插板连接的固定块配合即可对导电条进行固定,安装座连接的安装支板可固定在电脑上,可保证对导电条固定牢固,且在更换导电条时更为方便快捷,避免了黏性物质沾附电脑上难以清理的问题。
  • 一种具有降噪功能的蓝牙耳机 ¥1400

    本实用新型公开了一种具有降噪功能的蓝牙耳机,包括蓝牙耳机本体和防护盒,所述蓝牙耳机本体上连接有耳塞,所述防护盒顶部通过铰链翻转连接有防护盖,所述缓冲垫内设有蓝牙存放区、耳挂存放区和耳塞存放区,所述蓝牙耳机本体上转动连接有耳挂。该具有降噪功能的蓝牙耳机通过设置缓冲垫用于放置蓝牙耳机本体、耳塞与耳挂,实现对蓝牙耳机本体的防护作用,通过多组弹簧实现橡胶压垫与防护盖的弹性连接,从而通过橡胶压垫压持在蓝牙耳机本体顶部,起到对蓝牙耳机本体的固定作用,并且通过转动转杆可实现清理棉对耳塞内部的清理作用,该具有降噪功能的蓝牙耳机防护性高,便于收纳,且便于对耳塞清理,功能性强,便于使用。
  • 一种网吧用多功能蓝牙耳机 ¥1400

    本实用新型公开了一种网吧用多功能蓝牙耳机,包括防护壳和蓝牙耳机本体,所述防护壳的内部设有活动块,且活动块的内部设有蓝牙耳机本体,所述蓝牙耳机本体的前端面上方固定安装有微型摄像机,且微型摄像机的下方设有音量键,所述音量键的下方位于蓝牙耳机本体的前端面固定安装有LED灯,且LED灯的下方设有开关,所述蓝牙耳机本体的一侧表面固定安装有安装块。本实用新型中,通过设置通过设置微型摄像机、氛围灯、安装块和LED灯的相互配合使用,微型摄像机能够在夜晚时对使用者的贵重物品进行拍摄,降低贵重物品被盗的风险,同时保证自身和随身物品的安全,且氛围灯能够发出绚丽多彩的灯光,吸引性更强,其次LED灯能够在夜晚时起到辅助照明的作用,功能多种多样。
  • 一种便于固定的防脱落蓝牙耳机 ¥1400

    本实用新型公开了一种便于固定的防脱落蓝牙耳机,包括钛合金记忆骨架,所述钛合金记忆骨架的两端侧壁均套接安装有硅胶套,所述钛合金记忆骨架的两端端部均固定安装有蓝牙耳机本体,且两组所述蓝牙耳机本体的远离面均设置有按键,两组所述蓝牙耳机本体的相向面均设置有扬声器,两组所述蓝牙耳机本体的上部均固定安装有防贴合滤网,所述钛合金记忆骨架的下方安装有漂浮柱。有益效果:本实用新型采用了防贴合滤网,通过设置的防贴合滤网,在不妨碍便于固定的防脱落蓝牙耳机正常使用的前提下,能够避免蓝牙耳机本体与佩戴者耳部紧密贴合,防止佩戴者两侧耳部大量出汗,提高了便于固定的防脱落蓝牙耳机的佩戴舒适度。
  • 一种用于提高防护性能的电梯配件安装用吊篮 ¥1800

    本实用新型公开一种用于提高防护性能的电梯配件安装用吊篮,其包括底板、第一护栏和第二护栏,所述第一护栏的底部与底板的顶部固定连接,所述第一护栏的顶部设置有储存机构;所述储存机构包括储存盒、两个连接杆、两个滑套和两个限位钮,所述连接杆的顶部与储存盒的底部固定连接,所述滑套的右侧与连接杆的左侧固定连接,解决了现有的工作人员乘坐吊篮主体对电梯配件进行安装时,需要弯腰拿取放置在吊篮主体底部的配件和工具,导致工作人员在吊篮主体内部活动范围较大,容易引起吊篮的晃动,安全性能降低,导致吊篮主体对工作人员的防护性较差,并且吊篮主体高度较高,不方便工作人员进入吊篮主体内部的问题。
  • 一种电梯配件安装用照明设备 ¥1800

    本实用新型公开一种电梯配件安装用照明设备,其包括连接块,所述连接块的内部活动设置有支撑杆,所述支撑杆的顶部设置有照明机构,所述连接块的后侧固定连接有限位卡,所述限位卡的内部设置有螺纹柱;所述照明机构包括高流明LED灯体、两个转块和遮光板,所述高流明LED灯体的底部与支撑杆的顶部固定连接,所述转块的底部与高流明LED灯体的顶部固定连接,所述遮光板转动连接在两个转块相对的一侧之间,解决了现有的在对电梯配件进行安装时使用的照明设备大部分为头戴式,如遇到电梯配件手伸入狭小空间内安装电梯配件时,头戴式照明设备容易与其他物体发生磕碰,需要不断进行位置纠正,不够方便用于电梯配件的安装的问题。
买家求购