利索能及
我要发布

专利的价值

高新企业认定

享受最高40%税收减免

政府补贴扶持

新技术行业可享高额政府补贴

招标投标竞标

提升招投标企业竞争力

保护自身技术

防止竞争对手恶意抄袭

获取企业资质

便于申请各类企业资质

企业实力背书

证明企业自身技术实力

买专利 VS 申请专利

买专利

  • 最快30天可用
  • 无驳回风险,转让成功率高
  • 准备材料少,仅需提供基础材料
  • 有需要即可购买
VS

申请专利

  • 3-24个月
  • 有驳回风险,需设计计划实施
  • 准备材料多,撰写材料难度大
  • 需储备产品创新想法或技术
卖家出售
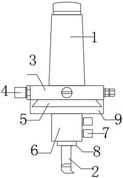
  • 一种可调式镗刀 ¥1500

    本实用新型公开了一种可调式镗刀,包括镗刀主体,所述镗刀主体上部设置有刀块,刀块的下部两侧设置有托块,两托块之间设置有位于刀块下部的移动块,移动块的下方设置焊接有套筒,套筒的内部设置有安装套管,且安装套管的内部设置有刀具,套筒的外部一侧设置有上下两固定螺栓。本实用新型通过设置左右滑动在两托块之间的移动块,通过微调旋钮旋转螺杆,对移动块下方的刀具进行微量偏心调节,使镗刀在机械加工中能快速准确找到加工位置,通过设置滑动在套筒内的安装套管,刀具通过螺孔与固定螺栓固定在套筒内,方便对镗刀的刀具进行更换,以满足不同机械加工的需求。
  • 一种生产机壳用的浇筑模型 ¥1300

    本实用新型涉及浇筑模型技术领域,尤其涉及一种生产机壳用的浇筑模型。其技术方案包括:工作台、进水管和出水管,所述工作台上表面两侧分别固定有支撑板,所述支撑板相背离一侧分别固定有液压缸,所述液压缸活动连接的液压杆一侧贯穿支撑板,所述液压缸活动连接的液压杆一侧固定有模具,所述模具上下两端分别开设有圆槽,所述圆槽内壁底端开设有第二凹槽,所述进水管外壁下端伸入圆槽内固定,所述出水管外壁上端伸入圆槽内固定,所述模具上表面开设有半圆槽,半圆槽内壁底端开设有第一凹槽。本实用新型具有结构简单,实用性强,同时可以对机壳进行冷却,提高工作效率的优点。
  • 一种扭力杆清洗夹具 ¥1300

    本实用新型公开了一种扭力杆清洗夹具,包括夹具本体的外边缘均固定设有防护框架,防护框架上端一侧的两端均套设有固定环,两个固定环外壁的中间位置均套设有弧形夹紧环,两个弧形夹紧环的内壁分别与两个固定环的外壁转动连接,两个弧形夹紧环外壁的一侧均固定设有连接块,两个连接块的一侧分别固定设有第一盖板,第一盖板底部的两端分别与两个连接块的一侧固定连接,本实用新型一种扭力杆清洗夹具,通过在夹具本体上的防护框架上设有固定环、弧形夹紧环、连接块以及两个盖板组成可旋转的遮挡装置,使扭力杆在清洗后长时间存放在装置上时将其覆盖避免落灰,不需要二次清洗,从而提高工作效率。
  • 一种方便对线路进行收纳的带线插座 ¥1300

    本实用新型公开了一种方便对线路进行收纳的带线插座,包括带线插座本体,所述带线插座本体的上安装有插头,且插头侧边设置有控制按钮,所述带线插座本体的侧边连接有连接环,且连接环上连接有旋转片,并且旋转片贴近连接环处安装有连接圆杆,所述旋转片的远离连接圆杆的一端安装有固线卡座,且旋转片侧边连接有收线座,所述收线座内的底端安装有橡胶座,所述收线座的两侧边缘处连接有弧形板。本实用新型通过旋转片上安装的连接圆杆可以将其限位在连接环上,并保持连接圆杆在连接环上的旋转,使得旋转片进行同步的转动,实现收线座的翻折,便于收线座对线路进行收纳,维持收线座在带线插座本体两侧展开的便捷性。
  • 一种超声波密封防水控制器 ¥1800

    本实用新型公开了一种超声波密封防水控制器,包括壳体和封盖,所述壳体的端部侧壁上开设有卡合槽,所述封盖的后侧设有卡入环,所述卡入环在贴近所述封盖的外侧开设有流水槽,所述卡入环的另一端外侧开设有第一安装槽,所述第一安装槽上套接有第一密封橡胶环,所述封盖与所述壳体贴合连接,所述卡入环和所述第一密封橡胶环卡合连接在所述第一安装槽的内部,所述壳体的内壁上设有若干第一凸出环,所述封盖的内侧设有密封垫圈,所述密封垫圈的一侧设有第二密封橡胶环,所述第二密封橡胶环设有若干第二凸出环。本实用新型具有多结构密封防水,以及卡合连接,提高防水性,且实现对水进行导流,提高防水性。
  • 一种导流排母线折弯加工装置 ¥1800

    本实用新型公开了一种导流排母线折弯加工装置,包括机床、两个支撑件和下压机构,机床表面竖直贯穿开设有滑槽,机床下方水平安装有丝杠,丝杠与电机动力相连;丝杠左右两端的正反螺纹上分别对应套设有移动块,两个移动块上安装有支撑件;支撑件包括内杆和外套筒,内杆水平固定在底座上,外套筒活动套设在内杆上;所述外套筒的表面开设有放置槽;下压机构包括伸缩缸和压块,伸缩缸竖直向下安装在机床上方的支架上,压块固连在伸缩缸的活塞杆上且抵接在导流排母线的上方中间;放置槽一侧开设的第一通槽内活动设有限位块,限位块从第一通槽伸出设于导流排母线上方。本装置能对支撑件上放置的导流排母线进行有效限位,显著提高导流排母线的折弯质量。
  • 一种电路板焊接用焊接台 ¥1900

    本实用涉及电路板加工领域,公开了一种电路板焊接用焊接台,包括:焊接部和支撑部,所述焊接部转动安装在支撑部的上表面;所述焊接部的内部设置有焊接框,所述焊接框的内部两侧开设有限位滑槽,所述限位滑槽的内部滑动卡接有支撑板,所述支撑板的外表面滑动安装有夹持柱,所述焊接框的底面边缘对称开设有卡接槽,所述焊接框的底面且位于卡接槽的边缘固定连接有套接框,本实用新型通过焊接部和支撑部的配合连接使用,能够便于焊接台对电路板进行倾斜夹持,从而便于焊接人员对电路板进行快速焊接。
  • 一种建筑墙面防开裂保湿装置 ¥1900

    本实用新型涉及一种保湿装置,尤其涉及一种建筑墙面防开裂保湿装置。提供一种能够使保湿液体具有良好雾化效果的建筑墙面防开裂保湿装置。一种建筑墙面防开裂保湿装置,包括有柱体容器、出水管、下压杆和第一弹性件等,柱体容器内部的上侧设置有隔板,隔板将柱体容器的内部分隔成上下两个空腔,柱体容器上部的右侧设置有喇叭形的出水管,柱体容器上部滑动式设置有下压杆,下压杆底部连接有第一弹性件。有益效果是:本装置出水管下方设置有挡块、第二弹性件、固定块,导杆、导向块和卡块,对流入出水管液体具有分流作用,能够节约使用保湿液体。
  • 一种语文教育用学阅读柜 ¥1800

    本实用新型公开了一种语文教育用学阅读柜,包括柜体,所述柜体的一侧壁上设有空槽,所述空槽的内侧壁上固定连接有多个呈等间距设置的隔板,多个所述隔板将空槽分隔为多个放置槽,所述柜体的一侧壁上固定连接有风机,所述风机的一端上固定连接有第一导管,所述放置槽的内侧壁上固定连接有贯穿柜体的连接杆。本实用新型借助风机在第一导管内产生的负压作用,拉动压紧板从放置槽的一端向另一端移动,对放入的书籍进行压紧,使其排列整齐,由于是采用负压的方式带动压紧板移动,因此即便是每个放置槽内放入的书籍数量不同,压紧板依然能够自适应性的对书籍进行压紧,而且压紧力度几乎一致。
买家求购