利索能及
我要发布

专利的价值

高新企业认定

享受最高40%税收减免

政府补贴扶持

新技术行业可享高额政府补贴

招标投标竞标

提升招投标企业竞争力

保护自身技术

防止竞争对手恶意抄袭

获取企业资质

便于申请各类企业资质

企业实力背书

证明企业自身技术实力

买专利 VS 申请专利

买专利

  • 最快30天可用
  • 无驳回风险,转让成功率高
  • 准备材料少,仅需提供基础材料
  • 有需要即可购买
VS

申请专利

  • 3-24个月
  • 有驳回风险,需设计计划实施
  • 准备材料多,撰写材料难度大
  • 需储备产品创新想法或技术
卖家出售
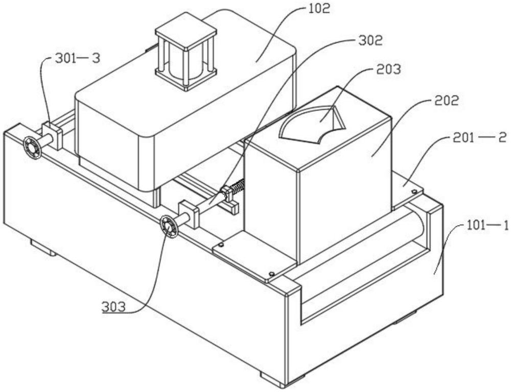
  • 一种数控机床储料机构 ¥1800

    本实用新型公开了一种数控机床储料机构,涉及物料储放领域。本实用新型包括承载板,承载板的顶部设置有加工组件和封闭组件,加工组件包括粉碎罐,封闭组件包括第一气缸和抵板,第一气缸能够驱使抵板水平移动,抵板的顶部与粉碎罐的底部贴合,承载板的底部固定安装有储料箱,且顶部安装有输料管道,储料箱的内部设置有翻动组件和通风组件,翻动组件包括第一电机、第二气缸、第二电机、搅拌杆和往复丝杆;往复丝杆转动时通过传动组件带动从动轴转动,此时从动轴带动扇叶转动,扇叶转动后能够将散出的热气吹动,并通过通风窗排出,提高热气排出的速度,进而提高工作效率。
  • 一种一次性纸杯加工用表面印花装置 ¥1800

    本实用新型公开了一种一次性纸杯加工用表面印花装置,涉及印花装置技术领域。本实用新型包括支撑组件,所述支撑组件顶部固定安装有进料组件和活动组件,进料组件位于活动组件一侧,进料组件内滑动安装有升降组件,支撑组件内腔中转动安装有传送组件。本实用新型通过控制器控制升降组件工作,升降组件内部件转动带动内部件间的转动,由于内部件间的啮合转动,使得内部件转动带动着限位组件移动,活动组件内部件转动带动着内部件间的相继转动,由于内部件间的螺纹安装,使得内部件转动带动限位机构进行移动,活动组件限位机构移动至纸板恰巧通过的位置,进而避免了在一次性纸杯印刷时纸板出现重叠和纸板位置偏离的现象,以此达到省时省力的目的。
  • 一种小龙虾养殖用饲料投喂装置 ¥1800

    本实用新型公开了一种小龙虾养殖用饲料投喂装置,涉及水产养殖技术领域。本实用新型包括驱动装置,所述驱动装置上固定安装有下料组件、移动组件、送料组件和撒料组件,所述送料组件的一端与所述下料组件的下料端相对应,另一端与所述撒料组件的进料口相连接。本实用新型通过螺旋桨的高速作用下将饲料以弧形抛撒出去,当饲料抛撒出去后,饲料在行进过程中受到阻力,从而逐渐散开,并且随着喂料车的逐渐移动,在水面上形成全覆盖的饲料层,进而解决了饲料无法均匀的分布在池塘水面上的问题,解决了传统设备无法对池塘进行均匀的撒料,导致喂养不均匀的问题,并且通过移动组件的移动,改变了传动设备移动不便的问题。
  • 一种田螺壳表面污物全自动清洗设备 ¥1800

    本实用新型公开了一种田螺壳表面污物全自动清洗设备,涉及田螺加工设备技术领域。本实用新型包括安装架,所述安装架的底端固定安装有驱动组件。本实用新型通过上料组件将待清洗的田螺倒入第二筛分筒的内部,启动驱动组件驱动第一筛分筒转动,同时驱动组件能够驱动传动组件转动,传动组件配合第一支撑组件带动固定架进行转动,固定架带动第二筛分筒转动,进而第一筛分筒和第二筛分筒分别带动两组螺旋叶进行转动,通过固定架带动清洁组件对田螺的外壳进行清洗,启动冲洗组件对田螺的外壳进行冲洗,在转动过程中较小的田螺能够通过第二筛分筒掉落至第一筛分筒的内部,进而能够使田螺在清洗过程中对其大小进行筛分,较为省时省力。
  • 一种具有可调节刀盘的钻床 ¥1800

    本实用新型公开了一种具有可调节刀盘的钻床,涉及钻床技术领域。本实用新型包括钻床箱,所述钻床箱的内腔中固定安装有放置架,所述钻床箱内腔中且位于所述放置架的一侧固定安装有纵移组件,所述纵移组件的中部固定安装有安装架,所述安装架上固定安装有横移组件,所横移组件的中部固定安装有驱动机构,所述驱动机构的一端输出端固定安装有刀盘,所述刀盘位于所述放置架的正上方。本实用新型通过需要更换刀具时,只需要驱动驱动机构带动刀盘进行旋转,随后刀盘将带动其上的刀具进行转动,直至将刀盘转动至需要更换的钻头的型号即可,无需重复拆装,以此减小磨损,通过采用旋转换位、换刀方式以便于换刀并大大减小磨损度的有益效果。
  • 一种升降防护式的钻床 ¥1800

    本实用新型公开了一种升降防护式的钻床,涉及钻床技术领域。本实用新型包括机壳,所述机壳的内部固定连接有安装台,安装台的顶端固定安装有支撑柱。本实用新型通过在电动滑轨的移动端固定安装有U型安装板,且在U型安装板的上下两侧固定安装伸缩防护管,当启动电动滑轨驱动U型安装板移动时,U型安装板带动钻孔装置本体上下移动,使其对待加工的工件进行钻孔,同时U型安装板进行移动时,能够带动其上下两侧固定安装的伸缩防护管进行伸缩运动,进而能够对电动滑轨的内部进行保护,避免在钻孔加工过程中,产生的废料溅射在电动滑轨的内部,进而对电动滑轨的内部零部件起到防护效果,提高了该升降防护式的钻床的安全性。
  • 一种钻孔底座可移动的钻床 ¥1800

    本实用新型公开了一种钻孔底座可移动的钻床,涉及钻床技术领域。本实用新型包括工作台,所述工作台的外表面设置有滑动组件,滑动组件的内部设置有驱动组件,驱动组件的外表面固定连接有夹持板。本实用新型通过调节组件和夹持板的连接,当工件的外形不规则时,夹持板不能很好的与工件侧面进行贴合,可旋转调节组件使其解除对夹持板的限位固定,随后再推动夹持板绕调节组件旋转,使得夹持板与不规则工件的侧面贴合,再通过调节组件对夹持板进行固定即可,若工件的厚度较小,还可使辅助夹持组件沿着夹持板向上滑动,将工件置于夹持板和辅助夹持组件之间,辅助夹持组件从工件的上方对其进行固定,使用较为方便。
  • 一种超高精密直线导轨生产用的水平度检测仪 ¥1800

    本实用新型公开了一种超高精密直线导轨生产用的水平度检测仪,涉及直线导轨技术领域。本实用新型包括仪器本体,所述仪器本体的内腔中固定安装有多位置移动组件,所述多位置移动组件的两端均固定安装有检测器,所述仪器本体的四角均转动安装有滚动组件,所述仪器本体的四角均固定安装有升降组件,所述升降组件的底部螺纹安装有贴合组件,所述滚动组件与所述贴合组件之间设置有导轨。本实用新型通过推动仪器本体带动检测器对导轨移动检测一次的同时,多位置移动组件能够带动其上的检测器在移动过程中对导轨的来回移动多次检测,进而保证了对导轨进行检测的准确性,防止了因检测器只对导轨检测一次而造成的数据偏差的问题。
  • 一种升降台 ¥1800

    本实用新型公开了一种升降台,涉及升降装置技术领域。本实用新型包括施工台,所述施工台的下面安装有滚轴,所述施工台的下面两侧开设有滚轮啮合槽,所述滚轮啮合槽的内部安装有辊纹滚轮,所述施工台的下面两侧开设有滚轮滑槽。施工台开始上升时,双向电机启动,双向电机驱动转轴进行旋转,转轴两端分别连接有滚轴,转轴与转轴连接孔通过螺纹连接,通过转轴的旋转,能够带动滚轴从连边向中间进行水平运动,能够使施工台的重心保持在中间,更加稳定可靠。
  • 一种小龙虾养殖用饲料破碎混合装置 ¥1800

    本实用新型公开了一种小龙虾养殖用饲料破碎混合装置,涉及水产养殖技术领域。本实用新型包括括筒体,所述筒体的中部转动安装有转轴,所述转轴上转动安装有上刀盘。本实用新型利用转轴的旋转,使转轴驱动上刀盘进行旋转,利用上刀盘上安装的静止刀具和动态刀具对筒体内的饲料进行破碎。当需要对饲料的破碎精度的调整时,使动态刀具在上刀盘上进行滑动,以改变动态刀具与静止刀具之间的距离,从而使动态刀具与静止刀具形成错位分层,进而使饲料在经历过上层刀具的破碎后,掉落至下层刀具上,进行二次切割破碎,以达到对饲料破碎精度的调整,从而解决了传统的破碎刀形式单一所导致的效率低下的问题。
买家求购