利索能及
我要发布
收藏
专利号: 2018111887924
申请人: 南京绿源达农业设备有限公司
专利类型:发明专利
专利状态:已下证
更新日期:2026-04-09
缴费截止日期: 暂无
联系人

摘要:

权利要求书:

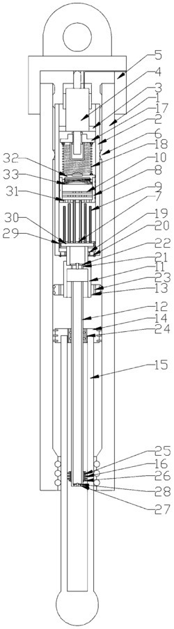
1.一种电动阻尼杆,其特征是:包括互相滑动连接的内管和外管,所述外管内部为空心结构,在空心的顶部设置有一个阻尼容积调节机构,所述阻尼容积调节机构包括一个密封套,所述密封套的底部设置有一个进油套,进油套的顶部伸入到密封套内,所述进油套的顶部设置有一个分油盘,所述分油盘内设置有一个排油空腔,在分油盘的外围设置有阻尼油流动孔A,所述分油盘上同心环形阵列设置有N组排油管,其中排油管的长度沿中心向分油盘的外围逐渐变短,落差为L,所述密封套的顶部固定有一个直线步进电机,所述直线步进电机的直线输出轴上固定有一个压盘,所述压盘通过连接弹簧连接有一个阻尼盒,阻尼盒的外壁与密封套内壁之间滑动密封连接,所述阻尼盒内部设置有N-1组封闭板,其中在阻尼盒的底部设置有M组与前述N组排油管数量对应的插入孔A,在第一组封闭板上设置有M-1组插入孔B供第N-1组排油管插入;所述进油套的顶端设置有若干阻尼液流动孔B,在进油套朝向液位套内部的一侧还固定有一个用于覆盖阻尼液流动孔B的阀片A,所述密封套的端部设置有若干阻尼液流动孔C,在密封套端部的外侧还固定有一个环形的阀片B;所述进油套上密封连接有一个阻尼内杆;所述内管内部也为空心结构,内管的端部设置有一个密封活塞A,密封活塞A与外管内壁之间滑动密封连接,密封活塞A上阵列设置有若干阻尼液流动孔F与内管内部连通,所述阻尼内杆与密封活塞A中部滑动密封连接,所述阻尼内杆的端部还设置有若干阻尼液流动孔D,所述阻尼内杆的端部朝向阻尼内杆的内侧固定有用于覆盖阻尼液流动孔D的阀片C,所述阻尼内杆的端部设置有一个密封活塞B,密封活塞B与内管内壁之间滑动密封连接,所述密封活塞B上阵列设置有若干阻尼液流动孔E,所述密封活塞B朝向阻尼内杆的端部一侧设置有用于覆盖阻尼液流动孔E的阀片D。

2.如权利要求1所述的一种电动阻尼杆,其特征是:所述进油套上固定有一个环形的支撑活塞,所述支撑活塞与外管内壁密封连接,支撑活塞上设置有阻尼液流动孔G。

3.如权利要求1所述的一种电动阻尼杆,其特征是:所述外管的顶部阵列设置有若干凸起环,所述密封套的外壁通过所述凸起环的弹性压紧固定到外管内壁上。

4.如权利要求1所述的一种电动阻尼杆,其特征是:所述密封活塞A和密封活塞B的外壁均直线阵列设置有若干钢制的弹性密封环。

5.如权利要求1所述的一种电动阻尼杆,其特征是:所述直线步进电机的底部设置有一个隔油环,所述外管的顶部设置有一个检修口,所述检修口的外壁通过螺纹固定有密封盖。

6.如权利要求1所述的一种电动阻尼杆,其特征是:所述阻尼盒的顶部设置有一个与连接弹簧连接的阻尼盖,阻尼盖覆盖于阻尼盒顶部,所述阻尼盖上通过压缩弹簧连接有一个压缩活塞,压缩活塞与阻尼盒内壁之间滑动密封连接。