利索能及
我要发布
收藏
专利号: 2017109601074
申请人: 滁州学院
专利类型:发明专利
专利状态:已下证
更新日期:2026-04-09
缴费截止日期: 暂无
联系人

摘要:

权利要求书:

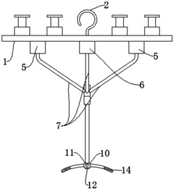
1.一种家用小型体能训练装置,包括顶板(1),其特征在于:所述顶板(1)上表面设置有挂钩(2)和多个电动气缸(3),所述顶板(1)上表面内部设置有电池(15),所述顶板(1)下表面设置有滑盒,所述滑盒包括固定安装在所述顶板(1)下表面中心处的主滑盒(6)和对称分布在所述主滑盒(6)两侧的副滑盒(5),所述滑盒下端设置有滑竿(7),所述滑竿(7)下端设置有连接块(8),所述连接块(8)下端安装有电动液压推杆(9),所述电动液压推杆(9)下端设置有安装块(10),所述安装块(10)下表面设置有控制开关(12),所述安装块(10)两侧设置有把手(13);

所述副滑盒(5)内开设有副滑槽(17),所述副滑槽(17)的槽底上固定安装有两条齿条(18),两条所述齿条(18)上均啮合连接有齿轮(19),两个所述齿轮(19)之间通过副轮轴(21)固定连接,每个所述齿轮(19)内均镶嵌有轮毂电机(20);

所述主滑盒(6)内开设有主滑槽(22),所述主滑槽(22)内设置有三组滑轮(23);

其中,三组所述滑轮(23)分别位于所述主滑槽(22)内中部和前后两端;

其中,每组两个所述滑轮(23)之间通过主轮轴(24)固定连接;

所述滑竿(7)数量有多根,分别与每根所述主轮轴(24)和每根所述副轮轴(21)铰接;

所述控制开关(12)数量有多个,分别与所述电动气缸(3)、所述轮毂电机(20)、所述电动液压推杆(9)电连接。

2.根据权利要求1所述的一种家用小型体能训练装置,其特征在于:所述挂钩(2)固定安装在所述顶板(1)上表面中心处;所述电动气缸(3)竖直安装在所述顶板(1)上表面边缘处;

其中,多个所述电动气缸(3)以所述顶板(1)的中心轴线为中心在所述顶板(1)上表面呈环形阵列分布;

其中,每个所述电动气缸(3)上端活塞杆头部固定安装有防滑垫(4)。

3.根据权利要求1所述的一种家用小型体能训练装置,其特征在于:所述副滑盒(5)上表面与所述顶板(1)下表面固定连接;

其中,所述副滑盒(5)的长度为所述主滑盒(6)的长度的一半。

4.根据权利要求1所述的一种家用小型体能训练装置,其特征在于:所述安装块(10)正面镶嵌有工作指示灯(11)。

5.根据权利要求1所述的一种家用小型体能训练装置,其特征在于:所述把手(13)上套设有多层防滑圈(14)。

6.根据权利要求1所述的一种家用小型体能训练装置,其特征在于:所述电池(15)上表面设置有上盖(16),所述上盖(16)上表面与所述顶板(1)上表面齐平。

7.根据权利要求1所述的一种家用小型体能训练装置,其特征在于:多根所述滑竿(7)上端均套设在所述主轮轴(24)或所述所述副轮轴(21)上,其下端均与所述连接块(8)固定连接。