利索能及
我要发布

专利的价值

高新企业认定

享受最高40%税收减免

政府补贴扶持

新技术行业可享高额政府补贴

招标投标竞标

提升招投标企业竞争力

保护自身技术

防止竞争对手恶意抄袭

获取企业资质

便于申请各类企业资质

企业实力背书

证明企业自身技术实力

买专利 VS 申请专利

买专利

  • 最快30天可用
  • 无驳回风险,转让成功率高
  • 准备材料少,仅需提供基础材料
  • 有需要即可购买
VS

申请专利

  • 3-24个月
  • 有驳回风险,需设计计划实施
  • 准备材料多,撰写材料难度大
  • 需储备产品创新想法或技术
卖家出售
  • 锂电池加工用配料混合搅拌器 ¥1600

    本实用新型公开了一种锂电池加工用配料混合搅拌器,包括底板,底板上设有两组安装柱,两组安装柱上设有顶板,两组安装柱上套设有移动板,顶板上设有液压杆且通过螺栓连接,液压杆与移动板连接,移动板一端设有电机,电机与移动板通过螺栓连接,电机上设有转动杆,转动杆上设有可调式搅拌组件;底板上设有夹持组件,通过可调式搅拌组件的设置,可对需要搅拌的径向距离进行调节,也适用于不同直径的搅拌桶,极大的增强了本新型的通用性,通过液压杆与移动板的设置,可对移动板在两组安装柱上的位置进行调节,以调节移动板的高度,从而调节电机的高度,进而对可调式搅拌组件的高度进行调节,可对不同高度的搅拌桶进行搅拌使用,增加了适用性。
  • 一种冷却吹风装置 ¥1600

    本实用新型公开了一种冷却吹风装置,属于化纤生产技术领域,包括水雾冷却部、冷风冷却部;所述水雾冷却部包括两个相对设置的储水箱,且两个所述储水箱一侧均开设有若干喷雾喷头;所述冷风冷却部的腔体相对两侧设有两个风扇,且两个所述风扇为同向设置,风向相同,其中一个风扇将外部的冷空气带入腔体内吹向丝条进行冷却,另外一个风扇则将腔体内的热空气排出,从而实现整个腔体内空气的流通,从而使得整个冷却腔的冷却温度保持恒定,以实现丝条的均匀;冷却水雾冷却部和冷风冷却部依次设置,使得每根丝条都能够得到充分冷却,从而保证成品质量。
  • 透水砖透水系数测试装置 ¥1600

    本实用新型透水砖透水系数检测技术领域,公开了一种透水砖透水系数测试装置。包括支架、测量瓶、供水箱和透水槽,透水槽底部设有供样品安装的安装槽,测量瓶、供水箱和透水槽依次通过管道连接,测量瓶与供水箱均为密闭结构,二者通过第一管道连接,并且第二管道位于透水槽的水中;通过本实用新型量透水系数时,仅有渗水量和时间是变量,测得该数据,再将相应数据代入公式进行计算,即可得到透水砖样品的透水系数;本实用新型实验过程中不存在水的溢出,减少水资源的浪费;此外本实用新型相对于现有技术而言,结构简单,操作方便。
  • 一种食品加工烘干设备 ¥1800

    本实用新型涉及从固体材料或制品中消除液体的干燥技术领域,且公开了一种食品加工烘干设备,包括烘干罐体,所述烘干罐体的上侧设置有顶盖,顶盖的前侧设置有卡接块,烘干罐体和顶盖的后侧均固定连接有第一固定块,两个第一固定块之间转动连接有转轴,两个第一固定块通过转轴转动连接,顶盖的内部固定连接有烘干块,烘干块的下侧延伸出顶盖,烘干罐体的内部设置有翻动机构,翻动机构包括烘干内胆、两个限位环槽、两个限位环和第一电机组件,烘干罐体的下侧设置有上下料机构,通过这种方式,能够对烘干设备内部豆粉同时进行翻动,进而使得烘干设备内部各处豆粉都能够进行均匀的烘干,进而提高了烘干设备烘干出来的成品质量。
  • 一种用于科技项目咨询服务的展示装置 ¥1800

    本实用新型公开了一种用于科技项目咨询服务的展示装置,包括行走架和支撑架,所述行走架的顶端安装有支撑架,所述支撑架的顶端安装有折叠架,所述折叠架靠近支撑架的一端安装有铰接轴,且折叠架通过铰接轴与支撑架活动连接,所述支撑架的侧壁上活动安装有两组电动推杆,所述电动推杆的输出端皆安装有推臂,所述推臂远离电动推杆的一端皆安装有联动轴,且推臂通过联动轴与折叠架活动连接,所述支撑架一侧的行走架顶端安装有收纳箱,所述折叠架的内部设置有抽拉箱。本实用新型不仅实现了便捷的翻转抽拉折叠展示和可供操作人员坐下休息,方便了对展示装置进行收纳防护,减少了其空间占用,而且提高了展示装置使用的灵活性。
  • 一种中药饮片的除菌烘干装置 ¥1380

    本实用新型公开了一种中药饮片的除菌烘干装置,包括处理仓、转动架以及网篮,所述转动架安设于所述处理仓内,所述网篮安设于所述转动架上,所述处理仓前侧壁面上设置有密封门,所述处理仓上开设有排风口,所述处理仓一侧设置有浸泡除菌结构,所述处理仓上设置有回转式烘干结构,本实用新型涉及中药饮片加工技术领域,将中药切片放置在网篮内,并将网篮悬挂在转动架上,通过处理仓内设置浸泡除菌结构,向处理仓内注入杀菌剂,对中药饮片进行浸泡除菌作业,浸泡完成后,将杀菌剂排出,利用回转式烘干结构对浸泡后的中药饮片进行烘干作业,并对处理仓内的温湿度指标进行监测,结构简单、自动化程度高,提高中药饮片的质量。
  • 一种外部防水结构的瓦楞纸箱 ¥1300

    本实用新型公开了一种外部防水结构的瓦楞纸箱,具体涉及瓦楞纸箱技术领域,包括箱体,其中箱体的上方设置有箱盖板,箱体的下方套设有防水件,另外箱体的内部设有内衬板,箱体与内衬板之间设有粘接层;防水件整体包括有活动条,活动条的内侧开设有凹槽。本实用新型利用粘接层将箱体和内衬板粘接在一起,随即把箱体的底部放置入活动条中缓慢向上拉动活动条,利用可自动复位的弹片对活动条进行限位,使得防水膜就套设在箱体的底部对其进行防护,能够较为有效的对其防水,内部的内衬板起到双重保护的效果,避免防水膜磨损导致内部的货物受潮,整体配合能从内外起到更加良好的防水性能,具备较高的实用性,适用范围较广。
  • 一种便于裁切比对的膜层加工台 ¥1300

    本实用新型公开了一种便于裁切比对的膜层加工台,包括加工台面,加工台面设有角度刻痕、度量尺痕与弧形尺痕,加工台面上方设有透明面板,加工台面上设有矩形凹痕,凹痕内设有标识棒,台面侧面设有工具盒,工具盒内设有裁切工具。实用新型有益效果为:使用本方案结构制成的设备,传统的加工台实际上仅为一张板桌,而改进方案中,加入了多种能够限定尺寸的工具,帮助裁切工作的进行,标识棒能够透过透明的面板强化裁切时的尺寸限定,使得裁切工人在工作时能够透过面板更容易找到自己目标尺寸的定位,而凹痕与凸痕不同,不会影响面板的水平度,影响薄膜的裁切质量,实用效果好的同时非常的适合中小型加工企业推广。
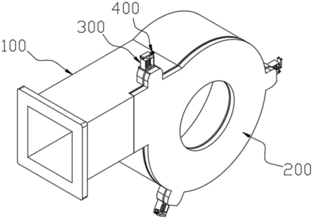
  • 一种鼓风机壳体组件 ¥1600

    本实用新型公开了一种鼓风机壳体组件,主要包括主体结构、封堵结构、固定结构以及限位结构,主体结构包括壳体,壳体前侧开设有清理口,壳体外侧靠近清理口处固定连接有若干定位套,封堵结构设置在清理口处,封堵结构包括与清理口适配卡合的封堵板、与封堵板侧面固定连接的若干定位插杆,若干所述定位插杆分别与若干定位套适配插接,固定结构与定位套远离壳体的一侧固定连接,固定结构用于将定位插杆与定位套固定连接在一起,所述限位结构与所述固定结构相连接,用于对固定结构进行限位。本实用新型不仅能够保证封堵板与壳体之间的稳固性,且整体操作简单快捷,方便对封堵板进行拆装,且拆装时均无需借助工具,方便后期对叶轮进行清理。
买家求购