利索能及
我要发布
收藏
专利号: 2024213538295
申请人: 青岛鸿顺瑞德工贸有限公司
专利类型:实用新型
专利状态:已下证
更新日期:2026-04-09
缴费截止日期: 暂无
联系人

摘要:

权利要求书:

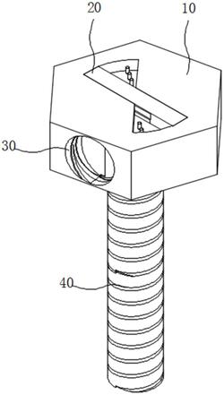
1.一种具有多种拧动方式的螺栓,其特征在于,包括:螺帽(10)和螺杆(40),所述螺杆(40)顶端与螺帽(10)底部固定连接,所述螺帽(10)内侧靠近中心处设置有转动组件(20),所述螺帽(10)表面设置有连接组件(30);

所述转动组件(20)包括转动地设置于螺帽(10)内侧的转动杆(21),所述转动杆(21)顶端固定安装有阻块,所述转动杆(21)顶端且位于螺帽(10)内侧设置有转动架(22),所述转动架(22)内侧壁靠近底部固定安装有沿所述转动杆(21)表面上下滑动的驱动板(23),所述阻块底部且位于转动杆(21)外侧边缘固定安装有驱动所述驱动板(23)下降的弹性件(24);

所述连接组件(30)包括设置于螺帽(10)表面的两个连接孔(31),所述螺帽(10)顶部开设有与所述转动架(22)相适配的放置槽(32),所述螺帽(10)顶部靠近前后两侧均开设有可供所述转动架(22)转动的活动槽(33),所述活动槽(33)内侧底部均固定安装有三个限位杆(34)。

2.根据权利要求1所述的具有多种拧动方式的螺栓,其特征在于,所述螺杆(40)表面涂有一层防锈密封漆,所述连接孔(31)内侧壁开设有与所述螺杆(40)相适配内螺纹槽。

3.根据权利要求1所述的具有多种拧动方式的螺栓,其特征在于,所述转动架(22)前后两侧靠近底部处均为弧形设置,且弧度与所述驱动板(23)内侧壁弧度相适配设置,所述转动架(22)底部开设有与所述限位杆(34)相适配的限位孔(25)。

4.根据权利要求1所述的具有多种拧动方式的螺栓,其特征在于,所述转动架(22)前后两侧靠近顶部处均开设有滑动孔,所述滑动孔内侧均滑动地设置有辅助杆(26),所述辅助杆(26)表面均开设有若干防滑槽。

5.根据权利要求4所述的具有多种拧动方式的螺栓,其特征在于,所述转动架(22)内侧靠近顶部处开设有两个操作口(27),所述操作口(27)均与相邻所述滑动孔连通设置。

6.根据权利要求1所述的具有多种拧动方式的螺栓,其特征在于,所述螺帽(10)的高度大于螺杆(40)的直径,所述转动架(22)左右两侧均开设有拉动槽。