利索能及
我要发布
收藏
专利号: 2023201225577
申请人: 广东卓柏信息科技有限公司
专利类型:实用新型
专利状态:已下证
更新日期:2026-04-09
缴费截止日期: 暂无
联系人

摘要:

权利要求书:

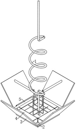
1.一种螺旋形天线,包括螺旋天线(1)和固定安装在螺旋天线(1)低端的固定底座(2),其特征在于,所述固定底座(2)的四个侧面上均转动安装有信号反射板(3),所述信号反射板(3)和固定底座(2)之间活动铰接有弹性件(4),所述螺旋天线(1)与信号反射板(3)之间固定连接有连接组件(5)。

2.根据权利要求1所述的一种螺旋形天线,其特征在于,所述弹性件(4)为弹性气囊。

3.根据权利要求2所述的一种螺旋形天线,其特征在于,所述连接组件(5)包括固定安装在螺旋天线(1)上的活塞杆(502)和固定安装在信号反射板(3)上的套筒(501),所述活塞杆(502)滑动安装在套筒(501)内。

4.根据权利要求1所述的一种螺旋形天线,其特征在于,所述弹性件(4)与套筒(501)之间连通安装有连通管(6),且与弹性件(4)连通的套筒(501)处于弹性件(4)的对侧,所述连通管(6)的端口处于活塞杆(502)的后侧。