利索能及
我要发布
收藏
专利号: 2022105254687
申请人: 成都理工大学
专利类型:发明专利
专利状态:已下证
更新日期:2026-04-09
缴费截止日期: 暂无
联系人

摘要:

权利要求书:

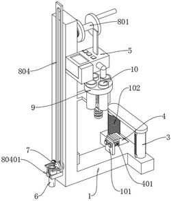
1.用于地质流体检测的取样装置,其特征在于:包括支撑架(1);

所述支撑架(1)的上方有一个第二支撑板;保护罩(2),所述保护罩(2)安装在支撑架(1)的底部;

固定锥(3),所述固定锥(3)安装在支撑架(1)的上方,固定锥(3)共有两个,两个固定锥(3)之间有一个连接板;

锁定斜块(4),所述锁定斜块(4)安装在支撑架(1)的上方;

检测仪(5),所述检测仪(5)安装有一个进水管,检测仪(5)卡接在支撑架(1)的第二支撑板内侧;

安装套筒(6),所述安装套筒(6)安装在支撑架(1)的底部,检测仪(5)的进水管和安装套筒(6)之间安装有一个引流管,将试纸卡接在检测仪(5)的内侧,通过检测仪(5)和试纸对流体进行双重检测;

定位座(7),所述定位座(7)通过螺栓固定在支撑架(1)的底部;

驱动机构(8),所述驱动机构(8)由收卷轮(801)、第一转动轴(802)、第二转动轴(803)、升降框架(804)和安装块(80401)共同组成,收卷轮(801)的外侧安装有一个锥齿轮盘,在收卷轮(801)转动时会带动锥齿轮盘转动,通过收卷轮(801)对软管进行收卷,收卷轮(801)安装在支撑架(1)的外侧,第一转动轴(802)的两端均安装有一个第一锥齿轮,上端的第一锥齿轮与锥齿轮盘相啮合,因此在收卷轮(801)转动时会带动第一转动轴(802)转动,第二转动轴(803)的端部安装有一个第二锥齿轮,第二锥齿轮和第一锥齿轮相啮合,因此在第一转动轴(802)转动时会带动第二转动轴(803)转动,第二转动轴(803)的外侧安装有一个拨动齿轮,在第二转动轴(803)转动时会带动拨动齿轮转动,升降框架(804)的外侧有一个齿条,齿条与拨动齿轮相啮合,在拨动齿轮转动时会推动升降框架(804)上下滑动,安装套筒(6)开设有一个环形槽,安装块(80401)卡接在安装套筒(6)的环形槽内,因此安装块(80401)对安装套筒(6)进行位置锁定,安装块(80401)的内侧有一个安装槽,安装块(80401)的外侧有一个倾斜面,倾斜面方便安装套筒(6)的安装,在升降框架(804)移动时会带动安装块(80401)移动,从而使安装块(80401)带动安装套筒(6)移动,从而使安装套筒(6)进行位置调节;

装载盘(9),所述装载盘(9)安装在支撑架(1)的外侧;取样试管(10),所述取样试管(10)安装在装载盘(9)的内侧。

2.如权利要求1所述用于地质流体检测的取样装置,其特征在于:所述支撑架(1)包括有:

支撑块(101),支撑块(101)在支撑架(1)的上方,支撑块(101)开设有两个安装孔;

螺纹伸缩管(102),螺纹伸缩管(102)在支撑架(1)的上方,在支撑架(1)开设有两个与螺纹伸缩管(102)相连通的穿插孔,支撑架(1)的穿插孔与固定锥(3)相契合;

第一支撑板(103),第一支撑板(103)为L形结构,第一支撑板(103)在支撑架(1)的外侧,第一支撑板(103)开设有一个定位孔。

3.如权利要求1所述用于地质流体检测的取样装置,其特征在于:所述锁定斜块(4)包括有:

滑动杆(401),滑动杆(401)在锁定斜块(4)的外侧,滑动杆(401)共有两个,滑动杆(401)的外侧套接有一个第二支撑弹簧,锁定斜块(4)的上方有摩擦块。

4.如权利要求1所述用于地质流体检测的取样装置,其特征在于:所述安装套筒(6)的外侧有两个锁定卡扣,安装套筒(6)的锁定扣在外侧有一个掰动块。

5.如权利要求1所述用于地质流体检测的取样装置,其特征在于:所述定位座(7)包括有:

第一定位块(701),第一定位块(701)为矩形结构,支撑架(1)的底部安装有一个安装槽,第一定位块(701)卡接在支撑架(1)的安装槽内,第一定位块(701)开设有一个螺纹槽。

6.如权利要求1所述用于地质流体检测的取样装置,其特征在于:所述收卷轮(801)的外侧安装有一个锥齿轮盘,收卷轮(801)安装在支撑架(1)的外侧;第一转动轴(802)的两端均安装有一个第一锥齿轮,上端的第一锥齿轮与锥齿轮盘相啮合;第二转动轴(803)的端部安装有一个第二锥齿轮,第二锥齿轮和第一锥齿轮相啮合,第二转动轴(803)的外侧安装有一个拨动齿轮;升降框架(804)的外侧有一个齿条,齿条与拨动齿轮相啮合。

7.如权利要求1所述用于地质流体检测的取样装置,其特征在于:所述保护罩(2)开设有一个滑动孔,第一转动轴(802)穿插与保护罩(2)的滑动孔内,保护罩(2)的外侧有一个防松板,支撑架(1)的底部开设有两个竖向的定位槽,保护罩(2)卡接在支撑架(1)的定位槽内,第一转动轴(802)的外侧套接有一个第一支撑弹簧。

8.如权利要求6所述用于地质流体检测的取样装置,其特征在于:所述升降框架(804)包括有:安装块(80401),安装套筒(6)开设有一个环形槽,安装块(80401)卡接在安装套筒(6)的环形槽内,安装块(80401)的内侧有一个安装槽,安装块(80401)的外侧有一个倾斜面。

9.如权利要求1所述用于地质流体检测的取样装置,其特征在于:所述装载盘(9)开设有四个呈十字形分布的安装孔,取样试管(10)卡接在装载盘(9)的安装孔内,检测仪(5)的外侧有一个弯脖。

10.如权利要求1所述用于地质流体检测的取样装置,其特征在于:所述装载盘(9)包括有:

第二定位块(901),第二定位块(901)在装载盘(9)的底部,第二定位块(901)为矩形结构,第二定位块(901)卡接在第一支撑板(103)的定位孔内;

第三定位块(902),第三定位块(902)为圆柱结构,第三定位块(902)在第二定位块(901)的底部。