利索能及
我要发布
收藏
专利号: 2017103316194
申请人: 济南轩天机电科技有限公司
专利类型:发明专利
专利状态:已下证
更新日期:2024-12-10
缴费截止日期: 暂无
联系人

摘要:

权利要求书:

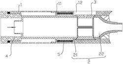
1.一种呼吸机输气管道,其特征在于包括壳体、设在壳体内的管道主体、增湿管、与管 道主体左端匹配的压紧部,以及复位弹簧;所述管道主体包括左段和右段,增湿管设在左段与右段之间,增湿管的左、右端面与所述左段、右段的对应端面之间设有密封圈;

所述左段的外壁与所述壳体的内壁之间通过线型滑轨结构匹配;所述左段的外壁上及所述壳体的内壁上设有对应的凸缘,所述复位弹簧设在所述左段外壁上的凸缘与所述壳体内壁上的凸缘之间;

所述壳体与所述左段的左端相对应的位置设有通孔,所述压紧部以可拆卸方式固定安 装在所述通孔上;所述压紧部的一端延伸至所述壳体内部并顶在所述左段的左端面上,将所述增湿管与所述左段及右段压合为整体;

所述壳体上对应增湿管的安装位置设有装配口;

所述增湿管的内部设有环形腔,所述环形腔的轴向与所述增湿管一致;所述环形腔的壁体上设有多个沿径向辐射布置的平板腔体,多个平板腔体沿圆周均布设置;所述平板腔体的内腔与所述环形腔连通;所述增湿管的壁体上设有多个连通所述环形腔的连通口;

所述增湿管的内腔中设有增湿部;所述增湿部包括轴杆及沿圆周均布在轴杆上的多个扇形架体;所述扇形架体的个数与所述平板腔体间隔形成的扇形孔一一对应;所述扇形架体的外壁与所述平板腔体的壁面接触;所述扇形架体的内壁上设有浸湿的吸水滤纸;

所述压紧部为设有轴向通孔的螺栓;所述壳体与左段的左端相对应的位置设置的通孔为螺纹孔,螺栓与螺纹孔配合;

所述轴杆设有轴向延伸的液腔;对应各扇形架体内壁上设置的吸水滤纸,分别布设有多条棉线,棉线沿增湿管的轴向分层布置,各层棉线环绕形成扇形,棉线的端部伸入所述轴杆的液腔内;

所述液腔一端设置胶塞,胶塞上设有导通管,所述导通管的一端伸入所述液腔中,另一端延伸出胶塞连接一根导管,导管的另一端穿出壳体与外置水源箱连接;

所述增湿管的左端及右端 各设有锥面沉孔,所述锥面沉孔的孔壁上设有密封胶圈层;

所述左段的右端、右段的左端设有与所述锥面沉孔匹配的锥形环面。

2.根据权利要求1所述的一种呼吸机输气管道,其特征在于:所述增湿管的左端设有环状的端板,所述端板的中心孔与所述增湿管同轴;所述端板设有型腔与所述增湿管的环形腔连通;所述端板的左端面上设有环状凸台,所述环状凸台的轴线与所述增湿管同轴;所述环状凸台设有环形孔与所述端板的型腔连通,所述环状凸台的外壁面为小端朝外的锥形面;所述左段的管腔内固定设有增温管,所述增温管与所述左段同轴;所述增温管的壁体上设有增温腔,所述增温腔的右端设有环状通孔,所述环状通孔与所述环状凸台匹配。

3.根据权利要求2所述的一种呼吸机输气管道,其特征在于:所述轴杆设有轴向延伸的 液腔,液腔两端均设胶塞,右端设置的胶塞上设有导通管,所述导通管的一端伸入所述液腔 中,另一端延伸出胶塞连接一根导管,导管的另一端穿出壳体与外置水源箱连接;

所述增温管的管腔内设有蒸发管,所述蒸发管的两端通过支架架置在所述增温管内并 与增温管同轴;所述蒸发管管壁上部设有多个散发口,所述散发口沿所述蒸发管的轴向分布,所述蒸发管的右端设有穿刺管,所述穿刺管外径小于所述蒸发管的内径;所述穿刺管自由端能穿过在所述轴杆液腔的左端设置的胶塞插入轴杆液腔内。

4.根据权利要求3所述的一种呼吸机输气管道,其特征在于:所述穿刺管的内端与L状管连通,所述L状管置于蒸发管的管腔内,L状管的竖直段端口朝下;所述L状管竖直段的管腔为阶梯孔且内径自外及内变小;所述L状管竖直段管腔的下端口设有浮球,所述浮球的外径小于L状管竖直段管腔的最外端处的内径,大于L状管竖直段管腔的最内端处的内径;自下及上,于所述L状管竖直段管腔内径初次于大于浮球外径与管腔内径小于浮球外径的衔接处设置球形过渡面,所述浮球的外壁能够与球形过渡面接触匹配。