首页
利索能及专利检索
电话:15618600796
登录
/
免费注册
利索能及授权登录
查出售
查求购
我要发布
专利交易
专利求购
15618600796
利索能及经纪人
收藏
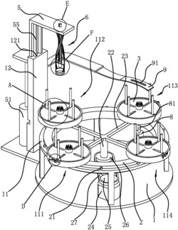
一种凤梨去心装置
¥10000
专利号:
2017101727426
申请人:
徐欢
专利类型:
发明专利
专利状态:
无效专利
更新日期:
2026-04-09
缴费截止日期:
暂无
联系人
专利简介
专利详情
购买说明
国家局暂未公布该信息
推荐专利
一种凤梨推动去皮装置
发明专利
¥12000
一种凤梨多功能去皮装置
发明专利
¥12000
一种空心凤梨麻复合纤维及其制备工艺
发明专利
¥8000
一种防治甘蔗凤梨病的方法
发明专利
¥11000
我要求购
您有专利需要变现?
我要出售
智能匹配需求,快速出售