利索能及
我要发布
收藏
专利号: 2015100134509
申请人: 宁波科尼管洁净科技有限公司
专利类型:发明专利
专利状态:已下证
更新日期:2026-04-09
缴费截止日期: 暂无
联系人

摘要:

权利要求书:

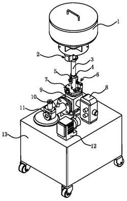
1.一种自动管内壁清洗设备,该设备包括输球管、发球装置(9)、气液发生装置、清洗球(14),发球装置包括三通阀(901)及控制三通阀阀芯(905)转动的阀芯电机(8),三个通向分别为进球口(902)、气液进口(904)、出球口(903),由三通阀的阀芯转动控制该三通阀在“进球口与出球口导通”和“气液进口与出球口导通”两种状态间切换;输球管连接发球装置的进球口,发球装置的气液进口连接气液发生装置,发球装置的出球口连接发球管(10),发球管连接管接头(11);其特征在于所述输球管的管壁设有导通管内外的缺口(501),该缺口所在的输球管位置设置球量控制器(6),球量控制器包括一个伸入所述缺口内,每转过一个角度放行一个清洗球的拨球盘(603),拨球盘为摩擦盘或叶片盘,拨球盘的转动是通过连接手柄和/或步进电机(602);所述球量控制器还包括调节支架,调节支架包括定位座(601)、固定座(606)、复位弹簧(605)、调节手柄(604),所述拨球盘(603)旋转定位于定位座,所述固定座固定于所述输球管,固定座设有连体的滑动杆(607),滑动杆杆段设有螺纹,所述定位座滑动套接于滑动杆,定位座相对于滑动杆呈轴向滑动、径向定位,且定位座相对于滑动杆轴向滑动时对应调节所述拨球盘伸入所述缺口(501)的位置;所述滑动杆的螺纹部连接所述调节手柄,所述复位弹簧套接于滑动杆,且在复位弹簧作用下,所述调节手柄与所述定位座保持抵紧,当转动调节手柄时,所述定位座相对于滑动杆轴向滑动。

2.根据权利要求1所述的自动管内壁清洗设备,其特征在于所述输球管分上、下两部分,上部分为储球管(3),下部分为送球管(5),储球管上端为喇叭口(301),储球管下端与送球管上端之间通过活接螺母(4)对接,所述缺口(501)设置于送球管,送球管下端连接所述发球装置(9)的进球口(902)。

3.根据权利要求1所述的自动管内壁清洗设备,其特征在于该自动管内壁清洗设备还包括向所述输球管内输送清洗球(14)的进料装置(2),进料装置包括料斗箱(1)、旋转进料管(201)、齿轮箱(203)、主齿轮(205)、副齿轮(204)、轴承(206)、电机(207),旋转进料管位于料斗箱底部,旋转进料管顶部设有U形缺口(202)并伸入料斗箱内,旋转进料管穿过齿轮箱并外接齿轮箱内的副齿轮,副齿轮与齿轮箱内的主齿轮啮合,齿轮箱外接电机,电机输出轴传动连接主齿轮;所述主齿轮、副齿轮各自均设有轴套部,通过轴套部连接轴承定位于所述齿轮箱内。

4.根据权利要求1所述的自动管内壁清洗设备,其特征在于该自动管内壁清洗设备还包括红外线感应装置(7),红外线感应装置包括红外线发射器(701)、红外线接收器(702),所述球量控制器下部的输球管管壁设有垂直贯穿所述输球管内腔的红外线感应孔(502),对应的所述红外线发射器、红外线接收器固定于所述输球管的两侧。

5.根据权利要求1所述的自动管内壁清洗设备,其特征在于所述三通阀(901)的阀芯(905)设有圆角通孔(906)或柱形通孔(908),当阀芯为圆角通孔时,所述三通阀的进球口(902)与所述气液进口(904)相对,三通阀的出球口(903)与进球口、气液进口两者垂直;当阀芯为柱形通孔时,所述三通阀的气液进口与出球口相对,所述进球口与气液进口、出球口两者垂直。

6.根据权利要求5所述的自动管内壁清洗设备,其特征在于所述三通阀(901)的气液进口(904)端设有过滤筛网(15)。

7.根据权利要求1所述的自动管内壁清洗设备,其特征在于所述发球管(10)内设有气压感应开关(1001),该气压感应开关作为控制该自动管内壁清洗设备卡堵清洗球故障停机的开关。

8.根据权利要求1所述的自动管内壁清洗设备,其特征在于所述气液发生装置包括液箱(13)、隔膜泵(12)、空气压缩机(21)、空气过滤器(20)、气阀开关(19)、液阀开关(17)、单向阀(16),所述液箱内设有加热管(18),所述隔膜泵进口连接液箱,出口连接带有液阀开关、单向阀的管路;所述空气压缩机出口连接带有空气过滤器的管路,该管路伸入所述液箱内盘曲后再伸出液箱,并连接气阀开关;上述两根管路合流后共同连接所述阀芯(905)的气液进口(904)。

9.根据权利要求1所述的自动管内壁清洗设备,其特征在于该自动管内壁清洗设备还包括收球装置(22),收球装置内设有收球框(2201)及向收球框内喷淋的喷淋头(2202),收球框内设有用于搅拌收球框内清洗球(14)的搅拌叶片(2203),搅拌叶片连接收球框底部的搅拌电机(2204),收球框底面为斜面(2207),斜面底端设有出液口(2205),位于该斜面上部设有一层网板(2206),所述搅拌叶片位于网板上部。