利索能及
我要发布
收藏
专利号: 2024213973499
申请人: 沈阳汇铂数字科技发展有限公司
专利类型:实用新型
专利状态:已下证
更新日期:2026-04-09
缴费截止日期: 暂无
联系人

摘要:

权利要求书:

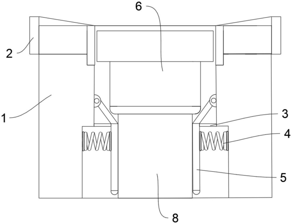
1.一种建筑施工用辅助排水结构,包括外壳(1),其特征在于,所述外壳(1)的形状为圆筒状,所述外壳(1)的外壁面上部设有橡胶环(2),所述外壳(1)的内壁面设有一对弹簧(4),所述外壳(1)的内壁面铰接有一对弧形杆(5),一对所述弧形杆(5)分别与一对所述弹簧(4)相连接,所述外壳(1)的内壁面之间设有限位环形板(3),所述外壳(1)内放置有漏斗(6),所述漏斗(6)的下端设有直筒(8),所述直筒(8)内设有滤网(9)。

2.根据权利要求1所述的一种建筑施工用辅助排水结构,其特征在于,所述漏斗(6)内放置有圆形滤板(10),所述圆形滤板(10)的上壁面设有卡扣(11)。

3.根据权利要求1所述的一种建筑施工用辅助排水结构,其特征在于,所述漏斗(6)的内壁面上部设有一对凸块(12)。

4.根据权利要求1所述的一种建筑施工用辅助排水结构,其特征在于,所述橡胶环(2)的上壁面设有倾斜料斗(7)。