利索能及
我要发布
收藏
专利号: 2024212659235
专利类型:实用新型
专利状态:未下证
专利领域: 暂无
更新日期:2025-03-19
缴费截止日期: 暂无
联系人

摘要:

权利要求书:

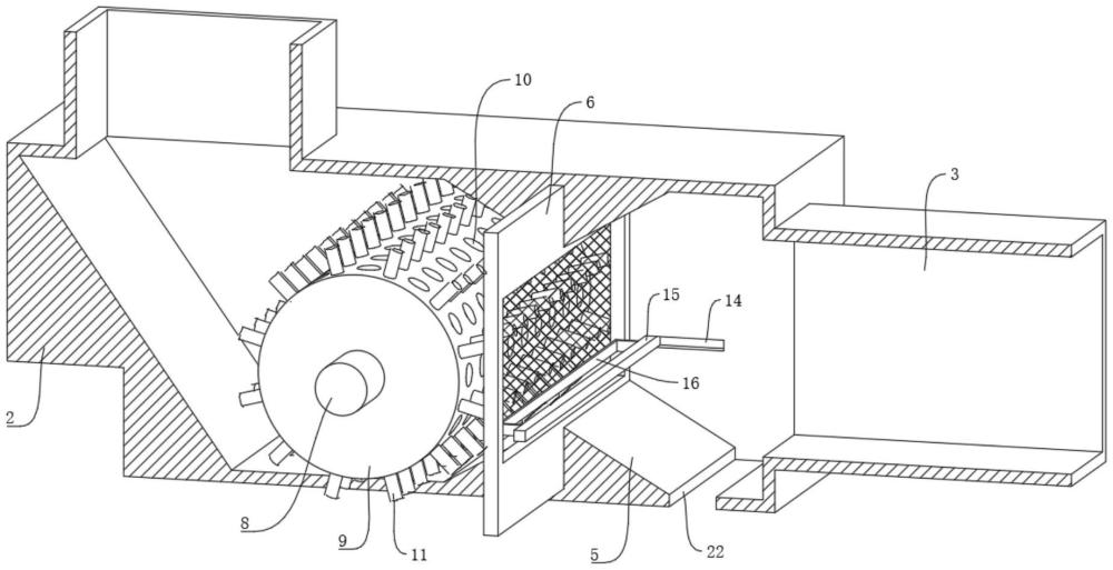
1.一种空气源热泵,包括空气源热泵本体(1),其特征在于:所述空气源热泵本体(1)的进气管道上安装有壳体(2),所述壳体(2)的一端设置有进气口(3),所述进气口(3)的一端安装有格栅(4),所述壳体(2)的内部设置有两个斜面部(5),两个所述斜面部(5)之间固定设置有滤网(6),所述壳体(2)的内部设置有清理机构;

所述清理机构包括电机(7)、转轴(8)、空心辊筒(9)、通孔(10)和刷毛(11),所述通孔(10)设置于空心辊筒(9)的表面,所述转轴(8)固定于空心辊筒(9)的两端部,所述转轴(8)贯穿壳体(2)并与壳体(2)转动连接,所述电机(7)固定于壳体(2)的底部,所述电机(7)的输出端通过同步组件与转轴(8)相连,所述刷毛(11)固定于空心辊筒(9)的表面,且所述刷毛(11)与滤网(6)相接触;

所述壳体(2)的内部还设置有适于进一步清理滤网(6)的辅助机构。

2.根据权利要求1所述的一种空气源热泵,其特征在于:所述辅助机构包括牵引杆(12)、挡板(13)、滑槽(14)、驱动杆(15)和敲击杆(16),所述牵引杆(12)通过往复机构活动设置于壳体(2)的表面,所述滑槽(14)设置于壳体(2)的表面,所述挡板(13)固定于牵引杆(12)的一端并覆盖于滑槽(14)的表面,所述驱动杆(15)垂直固定于挡板(13)的表面并贯穿滑槽(14),所述驱动杆(15)滑动设置于壳体(2)的内壁,所述敲击杆(16)固定于驱动杆(15)的表面并于滤网(6)相接触。

3.根据权利要求2所述的一种空气源热泵,其特征在于:所述往复机构包括轮齿(17)和缺齿轮(18),所述轮齿(17)固定设置与牵引杆(12)的表面,所述缺齿轮(18)固定于转轴(8)的表面并于轮齿(17)配合连接,所述牵引杆(12)通过弹性件活动设置于壳体(2)的表面。

4.根据权利要求3所述的一种空气源热泵,其特征在于:所述弹性件包括固定座(19)、导杆(20)和弹簧(21),所述固定座(19)安装于壳体(2)的侧面,所述导杆(20)安装于固定座(19)的表面,所述牵引杆(12)滑动设置于导杆(20)的表面,所述弹簧(21)的两端安装于固定座(19)和牵引杆(12)之间,且所述弹簧(21)套设于导杆(20)的表面。

5.根据权利要求1所述的一种空气源热泵,其特征在于:所述壳体(2)的底部设置有灰尘出口(22),所述壳体(2)的底部滑动设置有盖板(23),所述盖板(23)覆盖于灰尘出口(22)的表面。

6.根据权利要求5所述的一种空气源热泵,其特征在于:所述盖板(23)的侧面通过连接板(24)与格栅(4)固定连接,所述盖板(23)的内壁固定设置有导向部(25),所述壳体(2)的表面设置有导向槽(26),所述导向部(25)滑动设置于导向槽(26)内。

7.根据权利要求1所述的一种空气源热泵,其特征在于:所述同步组件包括同步轮(27)和同步带(28),所述同步轮(27)固定于转轴(8)的表面和电机(7)的输出端,所述同步带(28)将两个同步轮(27)进行同步连接。