首页
利索能及专利检索
电话:15618600796
登录
/
免费注册
利索能及授权登录
查出售
查求购
我要发布
专利交易
专利求购
15618600796
利索能及经纪人
收藏
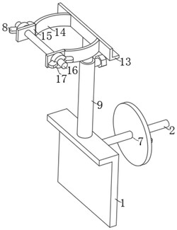
一种雷达物位计固定结构
¥1700
专利号:
2024200709568
申请人:
中徽仪表有限公司
专利类型:
实用新型
专利状态:
已下证
更新日期:
2026-03-05
缴费截止日期:
暂无
联系人
专利简介
专利详情
购买说明
国家局暂未公布该信息
推荐专利
一种雷达物位计防护结构
实用新型
¥1700
一种带有定位结构的雷达定位固定夹具
实用新型
¥2100
超高频雷达物位计
实用新型
¥1800
雷达料位计
实用新型
¥1400
我要求购
您有专利需要变现?
我要出售
智能匹配需求,快速出售