利索能及
我要发布
收藏
专利号: 2023231273071
申请人: 昆明格峦生物科技有限公司
专利类型:实用新型
专利状态:已下证
更新日期:2025-05-17
缴费截止日期: 暂无
联系人

摘要:

权利要求书:

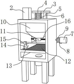
1.一种化工原料研磨装置,其特征在于,包括:

箱体(1),所述箱体(1)的内部设置有加工箱(10),所述加工箱(10)的内部设置有研磨件(4),所述研磨件(4)的顶部贯穿箱体(1),所述箱体(1)内部的底端设置有滤板(12),所述滤板(12)上设置有研磨滚筒(13),所述研磨滚筒(13)的两端设置有支撑杆(14),一端所述支撑杆(14)的内部贯穿设置有丝杆(16),另一端所述支撑杆(14)的内部贯穿设置有滑杆(15)。

2.根据权利要求1所述的一种化工原料研磨装置,其特征在于,所述箱体(1)的后侧设置有蜗杆(17),所述蜗杆(17)上设置有蜗轮(18),所述蜗轮(18)的一侧设置有齿轮(19)。

3.根据权利要求1所述的一种化工原料研磨装置,其特征在于,所述丝杆(16)的一端贯穿在箱体(1)的一侧,所述丝杆(16)和蜗杆(17)上均设置有传动轮(8),所述蜗杆(17)和传动轮(8)之间设置有单向轴承(21)。

4.根据权利要求3所述的一种化工原料研磨装置,其特征在于,所述传动轮(8)之间设置有皮带(9),所述丝杆(16)的一侧设置有电机(7)。

5.根据权利要求1所述的一种化工原料研磨装置,其特征在于,所述研磨件(4)的顶部设置有顶板(3),所述箱体(1)的上方靠近研磨件(4)的外侧设置有第一弹簧(6),所述顶板(3)底部的一端设置有连接杆(5),所述连接杆(5)的底部设置有轴承组件(20)。

6.根据权利要求1所述的一种化工原料研磨装置,其特征在于,所述箱体(1)的上方设置有进料管(2),所述进料管(2)的内部设置有一组底板(22),所述底板(22)的底部和进料管(2)之间设置有一组第二弹簧(23)。

7.根据权利要求1所述的一种化工原料研磨装置,其特征在于,所述加工箱(10)的底部设置有出料口(11)。