首页
利索能及专利检索
电话:15618600796
登录
/
免费注册
利索能及授权登录
查出售
查求购
我要发布
专利交易
专利求购
15618600796
利索能及经纪人
收藏
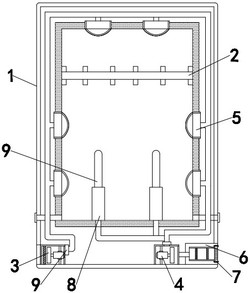
一种新风抑菌衣柜
¥1500
专利号:
2021230926372
申请人:
佛山市宏胜家具有限公司
专利类型:
实用新型
专利状态:
已下证
更新日期:
2026-04-09
缴费截止日期:
暂无
联系人
专利简介
专利详情
购买说明
国家局暂未公布该信息
推荐专利
一种通风优良的杀菌衣柜
发明专利
面议
智能除菌衣柜
实用新型
¥1500
一种除菌衣柜
实用新型
¥1400
一种新型衣柜
实用新型
¥1100
我要求购
您有专利需要变现?
我要出售
智能匹配需求,快速出售