首页
利索能及专利检索
电话:15618600796
登录
/
免费注册
利索能及授权登录
查出售
查求购
我要发布
专利交易
专利求购
15618600796
利索能及经纪人
收藏
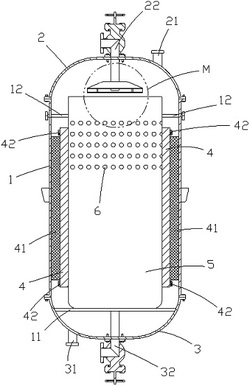
制冷空调设备稳压调节补水装置
¥1500
专利号:
2021224819852
申请人:
苏州泰普威环保科技有限公司
专利类型:
实用新型
专利状态:
已下证
更新日期:
2026-04-09
缴费截止日期:
暂无
联系人
专利简介
专利详情
购买说明
国家局暂未公布该信息
推荐专利
一种用于空调冷却水管稳压装置
实用新型
¥1200
一种空压机稳压调节装置
实用新型
¥1500
一种空调制冷管可调节磨边设备
发明专利
¥8500
一种用于制冷空调设备的制冷水箱
实用新型
¥1500
我要求购
您有专利需要变现?
我要出售
智能匹配需求,快速出售