利索能及
我要发布
收藏
专利号: 2021200247226
申请人: 海口原焰节能技术研发有限公司
专利类型:实用新型
专利状态:已下证
更新日期:2026-04-09
缴费截止日期: 暂无
联系人

摘要:

权利要求书:

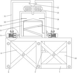
1.一种环保燃料高效脱水提纯装置,包括底座(3)、冷凝器(13)、过滤箱(14)和斜流板(15),其特征在于:所述底座(3)通过固定螺栓连接有固定板(4),且底座(3)下方安装有支撑板(1),所述支撑板(1)的上方设置有蒸馏器(16),且蒸馏器(16)的上方设置有降液管(2),所述过滤箱(14)的左右侧均安装有水泵(5),且过滤箱(14)位于底座(3)的上方,所述水泵(5)的上方设置有法兰(6),且法兰(6)的左右侧均安装有固定螺丝(7),所述斜流板(15)的左右侧均设置有凹槽(8),且斜流板(15)位于过滤箱(14)的内部,所述斜流板(15)的上方设置有泡沫过滤板(9),且泡沫过滤板(9)的左右侧均安装有探测器(10),所述冷凝器(13)的内部设置有进料口(12),且冷凝器(13)位于过滤箱(14)的上方,所述法兰(6)的上方设置有泡沫管(11)。

2.根据权利要求1所述的一种环保燃料高效脱水提纯装置,其特征在于:所述底座(3)的水平线与支撑板(1)的水平线之间相平行,且支撑板(1)的上表面与蒸馏器(16)的下表面之间为紧密贴合。

3.根据权利要求1所述的一种环保燃料高效脱水提纯装置,其特征在于:所述法兰(6)通过固定螺丝(7)构成可拆卸结构,且法兰(6)与水泵(5)之间为一体式结构。

4.根据权利要求1所述的一种环保燃料高效脱水提纯装置,其特征在于:所述斜流板(15)与泡沫过滤板(9)之间为一体式结构,且泡沫过滤板(9)的水平线与探测器(10)的水平线之间相平行。

5.根据权利要求1所述的一种环保燃料高效脱水提纯装置,其特征在于:所述探测器(10)的左侧表面与过滤箱(14)的右侧表面之间为紧密贴合,且泡沫过滤板(9)的中轴线与过滤箱(14)的中轴线之间相重合。

6.根据权利要求1所述的一种环保燃料高效脱水提纯装置,其特征在于:所述进料口(12)与冷凝器(13)之间为一体式结构,且冷凝器(13)的下表面与过滤箱(14)的上表面之间为紧密贴合。