利索能及
我要发布
收藏
专利号: 2021103107477
申请人: 湖南科技大学
专利类型:发明专利
专利状态:已下证
更新日期:2026-04-09
缴费截止日期: 暂无
联系人

摘要:

权利要求书:

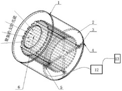
1.一种内腔形状可调的太阳能腔体热接收器,包括支撑底板、固定在支撑底板上并与其构成空腔的保温筒体、安装在该空腔中吸收太阳光来加传热工质的吸热器、石英玻璃;保温筒体前端设有带圆孔的封板,该圆孔位置安装有石英玻璃,太阳光透过该石英玻璃后到达吸热器表面;其特征在于:所述支撑底板开有呈十字形布置的四条长形的导槽,各导槽内安装有滑块;滑块朝向石英玻璃的前表面设有凸起的圆柱销轴,滑块的后表面设有大于导槽尺寸的凸台,该凸台沿其滑动方向设有螺纹通孔;取同一直线方向运动的两个滑块通过丝杆与其螺纹孔配合进行串行连接,丝杆的一端与电动机的输出轴固定连接;所述吸热器由四块吸热体构成,依次通过各吸热体首尾侧的销筒与对应滑块的销轴进行铰接连接,围成一个用于接收太阳光的内腔结构;电动机由控制器根据气候站监测反馈的环境参数进行相应控制,驱动滑块并带动吸热体运动来调节吸热体所围内腔的几何形状;所述吸热体由吸收太阳光并内部带有流道的吸光板、焊接在吸光板上不吸收太阳光的外表面的带储热工质的储热体和位于储热体外表面的保温体组成;该吸光板上吸收太阳光的内表面是曲面形状或平面形状,该内表面上涂覆有耐高温涂层,该涂层对太阳光吸收率大;该吸光板的两侧面各设有连接板,所述销筒固定在连接板的同端且沿高度方向错位设置;所述流道沿吸光板的高度方向呈蛇形折转的连通布置,传热工质从吸光板底部一侧的工质流入管流入,并从底部另一侧的工质流出管流出。

2.根据权利要求1所述的内腔形状可调的太阳能腔体热接收器,其特征是:所述吸热器中的传热工质从某个吸热体的工质流入管流入,最终从与其相邻的吸热体的工质流出管进行流出,两者之间的各吸热体的工质流入管和工质流出管依次通过金属软管连通,形成一个完整的工质流动回路。

3.根据权利要求1所述的内腔形状可调的太阳能腔体热接收器,其特征是:所述保温筒体前端封板的圆孔沿保温筒体的高度方向的投影形状在吸热体所围内腔的截面形状之内。

4.根据权利要求1所述的内腔形状可调的太阳能腔体热接收器,其特征是:所述保温筒体与吸热体所夹环形间隙内填充有颗粒状的保温材料。