利索能及
我要发布
收藏
专利号: 2020224357331
申请人: 乐清市城头山数控机床有限公司
专利类型:实用新型
专利状态:已下证
更新日期:2026-03-20
缴费截止日期: 暂无
联系人

摘要:

权利要求书:

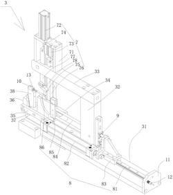
1.一种具有两侧及前口夹具结构的木工扁钻磨床,包括支架,所述支架的顶部固定有加工平台,所述加工平台的中部固定有两侧及前口夹具结构,所述加工平台上设置有两个电机座,所述电机座上固定有打磨电机,所述打磨电机的主轴上固定有砂轮,所述电机座以两侧及前口夹具结构为中心线对称设置,其特征在于:所述两侧及前口夹具结构包括安装底板,所述安装底板的中部固定有竖向支撑板,所述竖向支撑板的顶部固定有横向承载板,所述横向承载板与所述安装底板相平行,所述安装底板的后端固定有前口夹具底板,所述前口夹具底板的上方固定有气缸安装板,所述气缸安装板的后端固定有后定位辅助板,所述气缸安装板的底面固定有举升气缸,所述举升气缸的活塞轴顶部固定有后定位块,所述横向承载板处于前口夹具底板的下方,所述横向承载板上设置有侧夹持结构,所述安装底板上设置有前口夹持结构。

2.根据权利要求1所述的具有两侧及前口夹具结构的木工扁钻磨床,其特征在于:所述前口夹持结构包括直线导轨,控制气缸,尖定位滑块、导向杆、圆定位安装块和尖定位杆,所述直线导轨固定在所述安装底板上,所述尖定位滑块处于所述直线导轨上且所述尖定位滑块与所述控制气缸的活塞轴相连接,所述竖向支撑板上开设有圆形通孔,所述圆定位安装块通过导向杆与所述尖定位滑块相连接且导向杆穿过所述圆形通孔设置,所述尖定位杆固定在圆定位安装块上,所述尖定位杆在所述控制气缸的作用下夹向或远离后定位块。

3.根据权利要求2所述的具有两侧及前口夹具结构的木工扁钻磨床,其特征在于:所述后定位块的顶部固定有后定位套,所述尖定位杆与所述后定位套处于同一直线上。

4.根据权利要求3所述的具有两侧及前口夹具结构的木工扁钻磨床,其特征在于:所述侧夹持结构包括气缸安装架,所述气缸安装架固定在所述横向承载板的顶面,所述气缸安装架上固定有第一伸缩气缸、第二伸缩气缸和第三伸缩气缸,所述第一伸缩气缸的活塞轴上固定有侧夹板,所述第二伸缩气缸的活塞轴上固定有上压杆,所述上压杆在所述第二伸缩气缸的作用下压紧工作平面,所述第三伸缩气缸的活塞轴上固定有后压上压用的支撑杆。

5.根据权利要求4所述的具有两侧及前口夹具结构的木工扁钻磨床,其特征在于:所述支撑杆的对称侧面上通过销轴连接有侧面夹紧块,所述支撑杆在所述第三伸缩气缸的作用下,使支撑杆抵压在工件的顶面,同时侧面夹紧块分别夹持在工件的对称侧面上。

6.根据权利要求5所述的具有两侧及前口夹具结构的木工扁钻磨床,其特征在于:所述安装底板的前端固定有限位支撑板,所述限位支撑板上固定有接近开关,所述尖定位滑块在所述直线导轨上移平并抵压在所述接近开关上。

7.根据权利要求6所述的具有两侧及前口夹具结构的木工扁钻磨床,其特征在于:所述后定位套内设置有支螺钻扁钻。