利索能及
我要发布
收藏
专利号: 2020113509299
申请人: 安徽恒硕纺织品有限公司
专利类型:发明专利
专利状态:已下证
更新日期:2026-04-09
缴费截止日期: 暂无
联系人

摘要:

权利要求书:

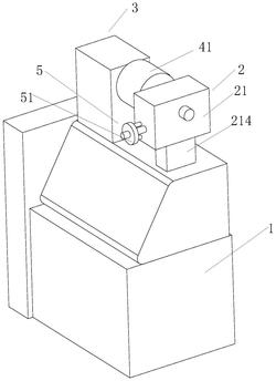
1.一种便于安装拆卸的转杯纺纱机用纱筒,其特征在于:包括纺纱机本体(1)、固定组件(2)、动力组件(3)和转动组件(4),所述固定组件(2)和动力组件(3)均设置在纺纱机本体(1)顶部;所述转动组件(4)设置固定组件(2)与动力组件(3)之间;

所述固定组件(2)包括第一壳体(21)和伸缩单元(22);所述纺纱机本体(1)顶部固接有支撑块(214);所述第一壳体(21)固接在支撑块(214)顶部;所述第一壳体(21)底部开设有第一滑槽(212);所述第一滑槽(212)内部滑动连接有第一滑块(211);所述第一滑块(211)侧面固接有第一杆体(213);所述第一壳体(21)顶部开设有凹槽(215);一对所述伸缩单元(22)呈对称设置在凹槽(215)两侧;

所述伸缩单元(22)包括第二滑块(222);所述凹槽(215)侧面开设有第二滑槽(221);所述第二滑块(222)滑动连接在第二滑槽(221)内;所述第二滑块(222)靠近凹槽(215)的一侧固接有固定杆(223);所述第二滑槽(221)的无杆腔与第一滑槽(212)的无杆腔通过输气管(224)相连通;

所述动力组件(3)包括第二壳体(31);所述第二壳体(31)内部开设有空腔(312);所述空腔(312)底部固接有电机(311);所述电机(311)输出端固接有第一转轮(32);所述空腔(312)顶部设有传动杆(34);所述传动杆(34)贯穿第二壳体(31)侧壁并与其转动连接;所述传动杆(34)位于空腔(312)内的一端固接有第二转轮(33);所述第一转轮(32)与第二转轮(33)通过皮带传动连接;

所述转动组件(4)包括纱筒(41);所述纱筒(41)的一端固接有第二杆体(45);另一端固接有第三杆体(42);所述第三杆体(42)表面套设有固定块(43)并与其转动连接;所述第三杆体(42)远离纱筒(41)的一端固接有握把(44);所述传动杆(34)与第二杆体(45)对应位置处开设有固定槽(46);所述第二杆体(45)与固定槽(46)滑动连接;所述固定块(43)两侧呈对称开设有一对卡槽(47);

所述第一杆体(213)位于第一滑槽(212)外的一端设置有拉伸组件(5);所述拉伸组件(5)包括固定盘(51);所述第一杆体(213)位于第一滑槽(212)外的一端转动连接有转动杆(52);所述固定盘(51)固定接在转动杆(52)中部;所述固定盘(51)上下两侧呈对称固接有一对横杆(53);所述第一壳体(21)与横杆(53)对应位置处开设有一对第三滑槽(54)。

2.根据权利要求1所述的一种便于安装拆卸的转杯纺纱机用纱筒,其特征在于:所述第一滑块(211)与第一滑槽(212)之间的第一杆体(213)上套设有弹簧(6);所述弹簧(6)的两端分别与第一滑槽(212)和第一滑块(211)固接。