利索能及
我要发布
收藏
专利号: 2020111638914
申请人: 安徽长灵建设工程有限公司
专利类型:发明专利
专利状态:已下证
更新日期:2026-04-09
缴费截止日期: 暂无
联系人

摘要:

权利要求书:

1.一种具有内置保温石膏板的建筑主体结构,其特征在于:

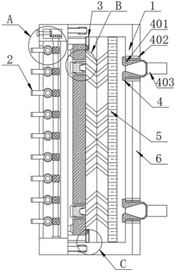
包括固定壳(1),所述固定壳(1)内腔设有石膏机构(3);

所述固定壳(1)一侧设有若干安装机构(4),所述固定壳(1)另一侧设有遮挡机构(2);所述遮挡机构(2)包括固定座(201),且固定座(201)一侧与固定壳(1)一侧固定连接,且两侧固定座(201)相对应一侧内腔嵌设有第一轴承(202),且两个第一轴承(202)内套设有第一转轴(203),所述第一转轴(203)顶端固定连接有从动齿轮(204);

所述从动齿轮(204)啮合有主动齿轮(205),所述主动齿轮(205)一侧固定连接有第二转轴(206),所述第二转轴(206)外侧壁套接有第二轴承(207),所述第二轴承(207)嵌设于固定座(201)内腔一侧,所述第二转轴(206)一端固定连接有把手(208),所述第一转轴(203)外侧壁嵌设有若干蜗杆(211);

所述蜗杆(211)啮合有蜗轮(212),所述蜗轮(212)一侧嵌设有第三转轴(213),所述第三转轴(213)两侧均通过第三轴承嵌设于固定座(201)内腔两侧,所述第三转轴(213)外侧壁嵌设有轴套(214),所述轴套(214)一侧固定连接有挡板(215)。

2.根据权利要求1所述的具有内置保温石膏板的建筑主体结构,其特征在于:所述挡板(215)一侧固定连接有密封垫(216),且挡板(215)位于相对于固定壳(1)设有若干安装机构(4)一侧相不同的另一侧开设的通孔(210)内;

所述通孔(210)内腔顶部固定连接有封闭板(209)。

3.根据权利要求1所述的具有内置保温石膏板的建筑主体结构,其特征在于:所述石膏机构(3)包括石膏板(303),所述石膏板(303)一侧贴合有隔板(301),所述隔板(301)与固定壳(1)内腔两侧固定连接;

所述石膏板(303)一侧四角处均嵌设有限位套(306),所述限位套(306)内腔卡接有膨胀钉(308),所述膨胀钉(308)两侧均固定连接有弹力板(307),所述弹力板(307)与限位套(306)内腔一侧相贴合;

所述膨胀钉(308)一侧开设有定位槽(310),所述隔板(301)一侧固定连接有定位钉(309),所述定位钉(309)卡接在定位槽(310)内,所述隔板(301)靠近石膏板(303)一侧两端均开设有滑槽(318),所述滑槽(318)内滑动连接有滑块(314),所述滑块(314)一侧嵌设有滑套(315),所述滑套(315)内滑动连接有滑杆(316),所述滑杆(316)两端分别与滑槽(318)内腔两侧固定连接;

所述滑杆(316)外侧壁套设有弹簧(317),所述弹簧(317)两端分别与滑套(315)和滑槽(318)内腔一侧固定连接,所述滑块(314)一侧固定连接有限位板(313),所述限位板(313)一侧与石膏板(303)一侧相贴合。

4.根据权利要求3所述的具有内置保温石膏板的建筑主体结构,其特征在于:所述隔板(301)一侧开设有若干透气孔(302),且两侧透气孔(302)呈对称设置。

5.根据权利要求3所述的具有内置保温石膏板的建筑主体结构,其特征在于:所述定位钉(309)两侧均固定连接有凸块(311);

所述定位槽(310)内腔两侧均开设有凹槽(312),所述凸块(311)卡接在凹槽(312)内。

6.根据权利要求3所述的具有内置保温石膏板的建筑主体结构,其特征在于:所述隔板(301)一侧固定连接有隔水垫(5),所述隔水垫(5)位于固定壳(1)内腔,所述固定壳(1)另一侧固定连接有防水垫(6)。

7.根据权利要求1所述的具有内置保温石膏板的建筑主体结构,其特征在于:所述安装机构(4)包括膨胀套(401),所述膨胀套(401)外壁套设有密封套(402);

所述密封套(402)嵌设于固定壳(1)内腔一侧,所述膨胀套(401)一侧固定连接有安装柱(403)。

8.根据权利要求1所述的具有内置保温石膏板的建筑主体结构,其特征在于:所述石膏机构(3)还包括限位杆(319),所述限位杆(319)与固定座(201)一侧固定连接;

所述限位杆(319)一端卡接在固定壳(1)一侧两端均开设有的卡槽(322)内;

所述限位杆(319)两侧均固定连接有卡垫(320),所述卡垫(320)卡接在限位槽(321)内。

9.根据权利要求5所述的具有内置保温石膏板的建筑主体结构,其特征在于:所述石膏板(303)一侧贴合有挤压板(304),所述挤压板(304)一侧固定连接有连接杆(305);

所述连接杆(305)一端固定连接在固定壳(1)内腔一侧。