利索能及
我要发布
收藏
专利号: 2020100248534
申请人: 共合科技发展(台州)有限公司
专利类型:发明专利
专利状态:已下证
更新日期:2026-04-09
缴费截止日期: 暂无
联系人

摘要:

权利要求书:

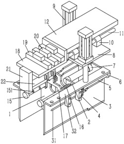
1.一种自动售饭设备上的饭量调节装置,包括动切饭板(1)和定切饭板(2),动切饭板(1)和定切饭板(2)均插设在“匚”字形的提取框(3)内,提取框(3)两相对的侧壁上成型有水平的导向槽(31),定切饭板(2)的两侧成型有导向块,导向块穿过提取框(3)的导向槽(31)固定在滑动块(4)上,滑动块(4)上固定有连杆(5),连杆(5)的另一端固定在驱动板(6),所述的提取框(3)内侧壁上固定有推料气缸(7),推料气缸(7)的活塞杆穿过提取框(3)固定在驱动板(6)上,其特征在于:所述的动切饭板(1)上插接有若干水平的T型定位柱(15),T型定位柱(15)穿过动切饭板(1)固定在定切饭板(2)上,定切饭板(2)和动切饭板(1)之间的T型定位柱(15)上插套有压簧(16),压簧(16)的两端压靠在定切饭板(2)和动切饭板(1)上;所述的T型定位柱(15)的外壁上成型有若干组卡槽(151);

所述提取框(3)两侧的上端成型有折板(32),提取框(3)的上侧设有联动板(8),联动板(8)的上端面上固定有若干竖直的升降气缸(9),升降气缸(9)的活塞杆穿过联动板(8)固定在折板(32)上,所述联动板(8)的上端固定有滑动座(13),滑动座(13)两侧的联动板(8)上固定有导向座(10),导向座(10)上插接有水平的导杆(11),滑动座(13)上螺接有水平的丝杠(14),丝杠(14)的两端通过铰接座铰接在顶板(12)上,导杆(11)的两端通过连接座固定在顶板(12)上,顶板(12)靠近定切饭板(2)的一端固定有支撑板(18),支撑板(18)的上端面上固定有若干插座(19),插座(19)的上端面固定有电磁铁(20),所述支撑板(18)的下侧设有若干“冂”字形的磁性卡板(17),磁性卡板(17)的下端成型有与T型定位柱(15)上卡槽(151)相对的叉子(172),磁性卡板(17)的上端成型有支板(171),支板(171)穿过支撑板(18)插接在插座(19)内并吸靠在电磁铁(20)上;所述支撑板(18)背离顶板(12)的一端固定在竖直的支架板(21),支架板(21)下端靠近动切饭板(1)的一侧端面上固定有水平的顶料杆(22),联动板(8)移动过程中,顶料杆(22)会抵靠动切饭板(1),从而改变动切饭板(1)和定切饭板(2)之间的间距。

2.根据权利要求1所述的一种自动售饭设备上的饭量调节装置,其特征在于:所述T型定位柱(15)上的卡槽(151)数量等于磁性卡板(17)的数量。

3.根据权利要求1所述的一种自动售饭设备上的饭量调节装置,其特征在于:所述顶料杆(22)位于磁性卡板(17)的中部。

4.根据权利要求1所述的一种自动售饭设备上的饭量调节装置,其特征在于:所述动切饭板(1)或定切饭板(2)的两侧壁均抵靠在提取框(3)相对的两侧内壁上。

5.根据权利要求1所述的一种自动售饭设备上的饭量调节装置,其特征在于:所述的丝杠(14)和导杆(11)相平行。