利索能及
我要发布
收藏
专利号: 2019112620968
申请人: 永康微唯智能科技有限公司
专利类型:发明专利
专利状态:已下证
更新日期:2026-04-09
缴费截止日期: 暂无
联系人

摘要:

权利要求书:

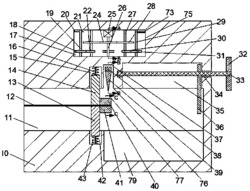
1.一种船帆的剪裁装置,包括机壳,其特征在于:一种船帆的剪裁装置机械结构图,主要包括机壳,所述机壳内设有工作腔和收集腔,所述工作腔内设有帆布,所述机壳内设有移动腔和滑动腔,所述移动腔内滑动连接有的上固定板,所述移动腔内设有连接所述上固定板与所述移动腔的升降弹簧,所述滑动腔内滑动连接有下固定板,所述滑动腔内设有连接所述下固定板与所述滑动腔的抵压弹簧,所述下固定板和所述上固定板抵在一起可将所述帆布进行固定,所述机壳内设有切割机构,所述切割机构包括位于所述机壳内的容纳腔,所述容纳腔内设有可上下运动的刀柄,所述刀柄下端面固定连接有刀片,所述刀片可将帆布进行切割,所述工作腔内设有牵引机构,所述牵引机构包括所述工作腔内设有的上移动固定块以及下移动固定块,所述上移动固定块与所述下移动固定块可对所述帆布进行固定,还可以将所述帆布向右拉动进行进料,所述机壳右侧端壁内设有控制腔,所述机壳内设有贯穿所述控制腔的转动腔,所述转动腔左端壁转动连接有右端位于外界的旋转轴,所述旋转轴右端固定连接有转动把手,所述控制腔内滑动连接有与所述旋转轴螺纹配合的阻挡板,通过人工将转动把手转动可使所述阻挡板左右运动从而限制帆布被切割的长度,所述机壳内设有可给所述下固定板、所述上固定板、所述上移动固定块、所述下移动固定块、所述刀柄运动提供动力的驱动机构。

2.根据权利要求1所述的一种船帆的剪裁装置,其特征在于:所述切割机构包括所述容纳腔后端壁内设有的升降腔,所述升降腔左端设有与所述刀柄连接的往复机构,所述往复机构后端面固定连接有升降板,所述升降板内设有升降板腔,所述升降腔后端壁转动连接有从动轴,所述从动轴前端固定连接有转动圆盘,所述转动圆盘前端面转动连接有位于所述升降板腔内的转动销,所述从动轴后端固定连接有从动锥齿轮。

3.根据权利要求2所述的一种船帆的剪裁装置,其特征在于:所述往复机构包括固定连接于所述升降腔前端壁的固定块,所述固定块内设有固定块腔,所述固定块腔下端壁固定连接有主动电机,所述主动电机动力连接有传动轴,所述传动轴上端固定连接有凸轮,所述固定块腔内滑动连接有位于所述凸轮前端的移动板,所述移动板前端面固定连接有后端位于所述固定块腔内的所述刀柄,所述固定块腔内设有连接所述移动板前端面与所述固定块腔前端壁的两个复位弹簧,所述固定块后端面与所述升降板前端面固定连接。

4.根据权利要求1所述的一种船帆的剪裁装置,其特征在于:所述牵引机构包括所述工作腔后端壁内设有的平移腔,所述平移腔滑动连接有平移块,所述平移腔内设有连接所述平移块左端面与所述平移腔左端壁的水平弹簧,所述平移块内设有平移块腔,所述平移块腔内滑动连接有第一电磁铁,所述平移块腔内设有连接所述第一电磁铁上端面与所述平移块腔上端壁的第一紧固弹簧,所述平移块腔内滑动连接有位于所述第一电磁铁下侧的第二电磁铁,所述平移块腔内设有连接所述第二电磁铁下端面与所述平移块腔下端壁的第二紧固弹簧,所述第一电磁铁前端面固定连接有另一端面与所述上移动固定块固定连接的上中间杆,所述第二电磁铁前端面固定连接有另一端面与所述下移动固定块固定连接的下中间杆。

5.根据权利要4 所述的一种船帆的剪裁装置,其特征在于:所述驱动机构包括所述机壳内设有的驱动腔,所述驱动腔上端壁固定连接有驱动电机,所述驱动电机动力连接有驱动轴,所述驱动轴上端固定连接有驱动摩擦轮,所述驱动电机左侧、右侧和后侧设有三个转动连接于所述驱动腔上端壁的主动轴,所述主动轴上端固定连接有与所述驱动摩擦轮啮合的主动摩擦轮,所述右侧主动轴下端固定连接有第二不完全齿轮,所述右侧主动轴的右侧设有转动连接于所述驱动腔上端壁的卷积轴,所述卷积轴下端固定连接有与所述第二不完全齿轮啮合的转动轴,所述卷积轴上端固定连接有另一端与所述平移块右端面固定连接的牵引绳,所述左侧主动轴下端固定连接有第一不完全齿轮,所述左侧主动轴的左侧设有转动连接于所述驱动腔上端壁的卷绕轴,所述卷绕轴下端固定连接有与所述第一不完全齿轮啮合的从动轮,所述卷绕轴上端固定连接有另一端与所述上固定板上端面固定连接的固定绳以及另一端与所述下固定板下端面固定连接的连接绳,所述后侧主动轴下端固定连接有第三不完全齿轮,所述后侧主动轴的后侧设有转动连接于所述驱动腔上端壁且下端位于所述升降腔内的旋绕轴,所述旋绕轴下端固定连接有与所述第三不完全齿轮啮合的旋转齿轮,所述升降腔内设有固定连接于所述旋绕轴下端且与所述从动锥齿轮啮合的主动锥齿轮。

6.根据权利要5 所述的一种船帆的剪裁装置,其特征在于:所述第一不完全齿轮为四分之一有齿的齿轮,所述第二不完全齿轮为四分之三有齿的齿轮,所述第三不完全齿轮为二分之一有齿的齿轮,所述主动锥齿轮转动半圈带动所述从动锥齿轮转动一圈。