利索能及
我要发布
收藏
专利号: 2019110972464
申请人: 平湖市超凯科技有限公司
专利类型:发明专利
专利状态:已下证
更新日期:2026-04-09
缴费截止日期: 暂无
联系人

摘要:

权利要求书:

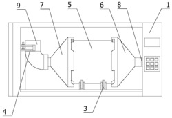
1.一种卧式旋转均匀微波加热装置,其特征在于,包括有微波炉(1),微波炉(1)的侧壁嵌入式地安装有旋转驱动机构(2),微波炉(1)的底壁固定安装有器皿保持架(3)和透气管保持架(4),还包括有器皿(5),器皿(5)可旋转地放置在器皿保持架(3)上,器皿(5)的两端分别可拆卸地安装有第一端盖(6)和第二端盖(7),第一端盖(6)远离器皿(5)的一端固定安装有第二端盖(7),第二端盖(7)和旋转驱动机构(2)传动连接,第二端盖(7)远离器皿(5)的一端设置有可旋转地安装在第二端盖(7)上的透气管(9),透气管(9)与第二端盖(7)密封连接,透气管(9)为L形弯管,工作状态下透气管(9)与透气管保持架(4)卡接。

2.根据权利要求1所述的一种卧式旋转均匀微波加热装置,其特征在于,旋转驱动机构(2)包括有可旋转地安装在微波炉(1)侧壁内部的套筒(2a),旋转驱动机构(2)还包括有驱动套筒(2a)环绕自身轴线旋转的旋转驱动器,工作状态下套筒(2a)和驱动塞头(8)传动连接。

3.根据权利要求1所述的一种卧式旋转均匀微波加热装置,其特征在于,器皿保持架(3)包括有固定安装在微波炉(1)底壁上的四个滚轮座(3a)以及可旋转地安装在每个滚轮座(3a)上的滚轮(3b),滚轮(3b)分别成对设置在器皿(5)的竖直径向面两侧,滚轮(3b)的轴线平行于器皿(5)的轴线,滚轮(3b)的外圆周面和器皿(5)的外圆周面抵接,器皿(5)与微波炉(1)的内壁不接触。

4.根据权利要求1所述的一种卧式旋转均匀微波加热装置,其特征在于,透气管保持架(4)包括有竖直固定安装在微波炉(1)底壁上的立柱(4a)可滑动地安装在立柱(4a)顶端的卡具(4b),卡具(4b)为扇环形状,卡具(4b)的圆心角大于90度且小于180度。

5.根据权利要求4所述的一种卧式旋转均匀微波加热装置,其特征在于,立柱(4a)包括有自下而上顺序连接并且同轴设置的第一圆杆(4a1)、第一六棱杆(4a2)、第二圆杆(4a3)、第二六棱杆(4a4)和第三圆杆(4a5),第一六棱杆(4a2)与第二六棱杆(4a4)规格相同,第二圆杆(4a3)和第三圆杆(4a5)规格相同,第一圆杆(4a1)的直径大于第一六棱杆(4a2)的直径,第一六棱杆(4a2)的直径大于第二圆杆(4a3)的直径;

卡具(4b)上设置有轴向贯穿卡具(4b)的滑槽(4b1)和卡槽(4b3),卡槽(4b3)位于卡具(4b)的中端,滑槽(4b1)与第二圆杆(4a3)滑动配合,卡槽(4b3)和第一六棱杆(4a2)间隙配合,卡具(4b)上还设置有用于避让第二六棱杆(4a4)的避让槽(4b2)。

6.根据权利要求2所述的一种卧式旋转均匀微波加热装置,其特征在于,器皿(5)包括有开口罐体(5a)和设置在开口罐体(5a)两端外壁上的多个扣部(5b),扣部(5b)环绕开口罐体(5a)的轴线均布;

第二端盖(7)包括有壳体(7a),壳体(7a)为圆台形状的空心壳体,壳体(7a)的下底设置有与扣部(5b)扣接的扣耳(7b);壳体(7a)的上底设置有与壳体(7a)同轴的出气管(7c),透气管(9)可旋转地安装在出气管(7c)上并且透气管(9)和出气管(7c)密封连接;壳体(7a)的下底还设置有密封圈槽(7a1),密封圈槽(7a1)内部安装有密封圈;

第一端盖(6)和第二端盖(7)相对于器皿(5)的径向面对称。

7.根据权利要求6所述的一种卧式旋转均匀微波加热装置,其特征在于,出气管(7c)上设置有沿着出气管(7c)的轴线贯穿出气管(7c)的六棱孔(7c1),驱动塞头(8)包括有同轴连接的六棱柱(8a)和方柱(8b),套筒(2a)上设置有轴向向内凹陷的方孔(2a1);六棱孔(7c1)和六棱柱(8a)过渡连接,方柱(8b)和方孔(2a1)间隙配合。

8.根据权利要求6所述的一种卧式旋转均匀微波加热装置,其特征在于,出气管(7c)的端面设置有径向向外延伸的环状凸缘(7c2)。

9.根据权利要求6所述的一种卧式旋转均匀微波加热装置,其特征在于,扣部(5b)和扣耳(7b)均有四个。

10.根据权利要求1所述的一种卧式旋转均匀微波加热装置,其特征在于,器皿(5)为透明玻璃材料,第一端盖(6)和第二端盖(7)均为塑料材料。