利索能及
我要发布
收藏
专利号: 201910792750X
申请人: 嵊州市慧洁日用品有限公司
专利类型:发明专利
专利状态:已下证
更新日期:2026-04-09
缴费截止日期: 暂无
联系人

摘要:

权利要求书:

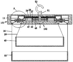
1.一种可升降晾衣篮,包括衣架以及固定杆,所述固定杆上端设有挂钩,所述衣架下侧设有小篮,所述小篮下侧设有大篮,所述大篮上端设有固定杆,所述衣架内设有左右对称的升降装置,所述衣架内中间部分设有控制装置,所述升降装置包括设于所述衣架内左右两端的卷轮腔,所述卷轮腔内横向设有固定螺杆,所述固定螺杆上螺纹连接有外轮和内轮,所述外轮靠近所述内轮一端设有外齿轮,所述外齿轮靠近所述内轮一端设有啮合轮,所述内轮靠近所述外轮一端设有齿转轮,所述内轮远离所述外轮一端设有内齿轮,所述外齿轮与所述内齿轮上侧设有可与其啮合的直齿柱,所述升降装置侧设有锁定装置,所述锁定装置包括设置于所述卷轮腔侧的卡板,所述卡板对应所述外轮和所述内齿轮对称设有两块;所述升降装置包括所述卷轮腔,所述卷轮腔上侧连通设有切换腔,所述切换腔内滑动连接有切换块,所述切换块内设有开口向下的齿柱腔,所述直齿柱可转动的设置于所述齿柱腔内,所述切换腔靠近中心侧连通设有滑杆腔,所述滑杆腔内滑动连接有位于所述切换块靠近中心侧的伸缩杆,所述伸缩杆内贯穿且转动连接有传动轴,所述传动轴与所述直齿柱固定连接,所述传动轴另一端与所述控制装置花键连接,所述外轮上绕设有外拉绳,所述内轮上绕设有内拉绳,所述卷轮腔下侧连通设有开口向下的导绳槽,所述导绳槽内两端转动连接有导绳轮,所述外拉绳和所述内拉绳分别经过所述导绳轮与所述大篮和所述小篮固定连接;

所述锁定装置包括对称且连通设于所述切换腔侧内壁的顶杆腔,所述顶杆腔内滑动连接有顶杆,所述顶杆侧内壁内连通设有限位槽,所述顶杆设有延伸到所述限位槽内的限位块,所述限位块与所述限位槽之间连接有复位弹簧,所述限位块靠近所述切换腔侧端面设有拉线,所述限位槽靠近所述切换腔侧连通设有通线孔,所述卷轮腔相通设有与所述顶杆腔对应的卡板腔,所述卡板腔与所述卡板滑动连接,所述卡板与所述卡板腔内壁之间连接有压缩弹簧,所述通线孔内设有拉线且与所述卷轮腔远离对称中心侧固定连接;所述控制装置包括固定设置于所述衣架内中间位置上侧的电机,所述电机两侧对称设有连通于所述滑杆腔的转轴腔,所述电机两端对称且动力连接有动力轴,所述动力轴内设有花键孔,所述传动轴靠近中心一端与所述花键孔之间花键连接,所述电机下侧且于所述衣架内设有马达,所述马达两端对称且动力连接有螺纹轴,所述马达两侧设有连通于所述滑杆腔下侧的控制腔,所述螺纹轴远离中心一端延伸到所述控制腔内,所述伸缩杆下侧固定连接有位于所述控制腔内且与所述螺纹轴螺纹连接的控制块。