利索能及
我要发布
收藏
专利号: 2019102884813
申请人: 北京百年初心科技有限公司
专利类型:发明专利
专利状态:已下证
更新日期:2026-04-09
缴费截止日期: 暂无
联系人

摘要:

权利要求书:

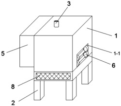
1.一种高吸附性能纳米纤维制备用静电纺丝机,其特征在于,包括壳体、底脚、挤入管、针头、电源、限位辊、隔板、风道过滤网、负压风扇、转动装置、支架底板、电机;所述壳体呈长方体形状,为中空结构;所述底脚设置于所述壳体下底面,与所述壳体底面垂直固定连接,呈一体式结构;所述挤入管设置于所述壳体顶面,所述挤入管与所述壳体垂直固定连接,所述挤入管底端伸入所述壳体内;所述针头设置于所述挤入管底端,与所述挤入管固定贯通连接,呈一体式结构;所述电源设置于所述壳体外壁一侧,所述电源通过紧固件与所述壳体实现固定,所述电源一端通过导线与所述针头实现电连接,所述电源一端通过导线与所述隔板实现电连接;所述壳体一侧呈开口状,形成纤维丝出口,所述限位辊设置于所述纤维丝出口内,所述限位辊两端通过轴实现与所述纤维丝出口两侧转动连接;所述隔板设置于所述壳体内部,所述隔板与所述壳体内壁固定连接;所述壳体底部呈贯通结构,形成负压风道,所述风道过滤网设置于所述负压通道一侧,与所述负压通道内壁固定连接,所述负压风扇设置于所述负压风道另一侧,通过紧固件与所述负压风道实现固定;

所述转动装置设置于所述隔板中心,所述转动装置包括第一层板、第二层板、二层轴承、二层转圈、第三层板、三层轴承、三层转圈、第四层板、四层轴承、四层转圈,所述第二层板设置于所述第一层板上表面,与所述第一层板固定连接,所述二层转圈设置于所述第二层板外,所述第二层板与所述二层转圈通过二层轴承实现转动连接;所述第三层板设置于所述第二层板上表面,与所述第二层板固定连接,所述三层转圈设置于所述第三层板外,所述第三层板与所述三层转圈通过三层轴承实现转动连接;所述第四层板设置于所述第三层板上表面,与所述第三层板固定连接,所述四层转圈设置于所述第四层板外,所述第四层板与所述四层转圈通过四层轴承实现转动连接;所述支架底板设置于所述转动装置底面,与所述转动装置固定连接,呈一体式结构;所述电机设置于所述壳体底面,通过紧固件与所述壳体实现固定,所述电机一端伸入所述壳体内,与所述支架底板垂直固定连接。

2.根据权利要求1所述的一种高吸附性能纳米纤维制备用静电纺丝机,其特征在于,所述挤入管呈下窄上宽结构,所述挤入管底端内径与所述针头内径相适应。

3.根据权利要求1所述的一种高吸附性能纳米纤维制备用静电纺丝机,其特征在于,所述限位辊数量为两个,两个所述纤维辊呈上下设置;每个所述限位辊呈两边宽中间窄的结构。

4.根据权利要求1所述的一种高吸附性能纳米纤维制备用静电纺丝机,其特征在于,所述转动装置设置于所述针头的正下方,所述转动装置的圆心与所述针头的圆心垂于同一竖直方向。

5.根据权利要求1所述的一种高吸附性能纳米纤维制备用静电纺丝机,其特征在于,所述第一层板、第二层板、第三层板和第四层板的直径大小依次递减。

6.根据权利要求1所述的一种高吸附性能纳米纤维制备用静电纺丝机,其特征在于,所述第一层板上表面周向设有第一层板孔,所述第一层板孔数量为十二个,每个所述第一层板孔贯穿所述第一层板。

7.根据权利要求1所述的一种高吸附性能纳米纤维制备用静电纺丝机,其特征在于,所述第二层板上表面周向设有第二层板孔,所述第二层板孔数量为八个,每个所述第二层板孔依次贯穿所述第一层板和第二层板。

8.根据权利要求1所述的一种高吸附性能纳米纤维制备用静电纺丝机,其特征在于,所述第三层板上表面周向设有第三层板孔,所述第三层板孔数量为四个,每个所述第三层板孔依次贯穿所述第一层板、第二层板和第三层板。

9.根据权利要求1所述的一种高吸附性能纳米纤维制备用静电纺丝机,其特征在于,所述第四层板上表面周向设有第四层板孔,所述第四层板孔数量为一个,每个所述第四层板孔依次贯穿所述第一层板、第二层板、第三层板和第四层板。

10.根据权利要求1所述的一种高吸附性能纳米纤维制备用静电纺丝机,其特征在于,所述所述紧固件为膨胀螺丝、螺栓、螺母、螺钉、自攻螺钉中的一种或多种。