利索能及
我要发布
收藏
专利号: 2019102387149
申请人: 刘卫进
专利类型:发明专利
专利状态:已下证
更新日期:2026-04-09
缴费截止日期: 暂无
联系人

摘要:

权利要求书:

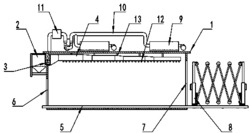
1.一种鞋帽加工用布料烘干装置,包括烘房(1),所述烘房(1)地面上安装有地轨(5),地轨(5)上设有与之配合的折叠布架(8),其特征在于,所述折叠布架(8)的数量为一对,折叠布架(8)包括安装支架(801)、伸缩连杆(802)和导布辊(803),相对放置的安装支架(801)之间通过伸缩连杆(802)连接,伸缩连杆(802)的上下端均安装有销轴(808),伸缩连杆(802)的上端通过销轴(808)与固定在安装支架(801)上的安装角码(807)连接,伸缩连杆(802)的下端通过销轴(808)与固定在安装支架(801)上的导向块(805)连接,所述导向块(805)上开设有竖直向的、用于与销轴(808)连接的导向槽(806),处于伸缩连杆(802)端部的销轴(808)上均安装有导布辊(803)。

2.根据权利要求1所述的一种鞋帽加工用布料烘干装置,其特征在于,所述安装支架(801)的底部安装有若干个用于与地轨(5)配合的导向轮(809)。

3.根据权利要求1或2所述的一种鞋帽加工用布料烘干装置,其特征在于,所述安装支架(801)上还固定有拉手(804)。

4.根据权利要求3所述的一种鞋帽加工用布料烘干装置,其特征在于,所述烘房(1)上安装有热泵(2),烘房(1)内通过安装座(13)固定有风包(4),风包(4)上开设有多个出风口(12),风包(4)的开口端位置处安装有鼓风机(3),鼓风机(3)设置在热泵(2)和风包(4)之间。

5.根据权利要求1或2或4所述的一种鞋帽加工用布料烘干装置,其特征在于,所述烘房(1)的两侧位置分别设有出料门(6)和进料门(7)。

6.根据权利要求5所述的一种鞋帽加工用布料烘干装置,其特征在于,所述烘房(1)上还安装有若干排潮风机(9),每个所述排潮风机(9)的出风端均连接有排潮管(10)。

7.根据权利要求6所述的一种鞋帽加工用布料烘干装置,其特征在于,所述排潮管(10)上安装有捕水器(11),排潮管(10)的端部与烘房(1)连接。