利索能及
我要发布
收藏
专利号: 2019102255277
申请人: 江苏翔宇灌溉设备有限公司
专利类型:发明专利
专利状态:已下证
更新日期:2026-04-09
缴费截止日期: 暂无
联系人

摘要:

权利要求书:

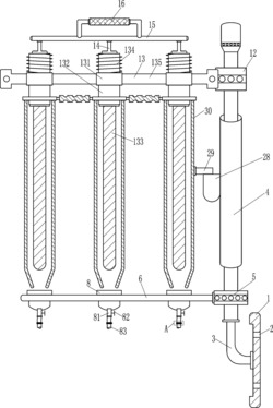
1.一种园林滴灌取水设备,包括有安装座(1)、弧形杆(3)、安装杆(4)、固定块(5)、第一横板(6)、储水器(8)、出水管(81)、阀门(82)和软管(83),安装座(1)上部和下部均开有通孔(2),安装座(1)左侧中部设有弧形杆(3),弧形杆(3)上部设有安装杆(4),弧形杆(3)下部设有固定块(5),固定块(5)左侧设有第一横板(6),第一横板(6)上均匀开有三个放置孔(7),三个放置孔(7)内均安装有储水器(8),三个储水器(8)底部均设有出水管(81),三个出水管(81)右侧均设有阀门(82),三个出水管(81)底部均连接有软管(83),其特征在于,还包括有橡胶块(10)、网板(11)、轴承座(12)、抖水装置(13)、支撑杆(14)、连接板(15)和拉柄(16),储水器(8)上部内侧开有环形槽(9),环形槽(9)内前后对称设有两个橡胶块(10),两个橡胶块(10)之间设有网板(11),网板(11)位于储水器(8)内,弧形杆(3)上部设有轴承座(12),轴承座(12)位于安装杆(4)上方,轴承座(12)左侧设有抖水装置(13),抖水装置(13)顶部设有三个支撑杆(14),三个支撑杆(14)顶部连接有连接板(15),连接板(15)顶部中间设有拉柄(16)。

2.根据权利要求1所述的一种园林滴灌取水设备,其特征在于,抖水装置(13)包括有第一导套(131)、第一导杆(132)、凝水管(133)、拉伸弹簧(134)和第二横板(135),轴承座(12)左侧设有第二横板(135),第二横板(135)上均匀设有三个第一导套(131),三个第一导套(131)内均滑动式设有第一导杆(132),三个第一导杆(132)顶部均与三个支撑杆(14)底部连接,三个第一导杆(132)底部均设有凝水管(133),三个支撑杆(14)底部均连接有拉伸弹簧(134),三个拉伸弹簧(134)底端均与三个第一导套(131)顶部连接。

3.根据权利要求2所述的一种园林滴灌取水设备,其特征在于,还包括有第二导套

(20)、第二导杆(21)、塞球(22)、推头(23)和压缩弹簧(24),凝水管(133)底部开有第一凹槽(17),凝水管(133)内开有第一腔体(18),第一凹槽(17)与第一腔体(18)连通,凝水管(133)左右两侧上部对称开有多个进水孔(19),第一腔体(18)内底部设有第二导套(20),第二导套(20)内滑动式设有第二导杆(21),第二导杆(21)顶端设有塞球(22),塞球(22)位于第一腔体(18)内,第二导杆(21)底端设有推头(23),推头(23)位于第一凹槽(17)内,推头(23)与第一凹槽(17)内顶部之间连接有压缩弹簧(24)。

4.根据权利要求3所述的一种园林滴灌取水设备,其特征在于,还包括有夹套(25)、螺栓(26)和螺母(27),软管(83)外部设有夹套(25),夹套(25)右侧后部设有螺母(27),螺母(27)内通过螺纹连接有螺栓(26),螺栓(26)穿过夹套(25)右侧。

5.根据权利要求4所述的一种园林滴灌取水设备,其特征在于,还包括有放置套(28)、滑杆(29)和隔离套(30),安装杆(4)左侧设有放置套(28),放置套(28)内放置有滑杆(29),滑杆(29)左侧连接有隔离套(30),凝水管(133)位于隔离套(30)内。