利索能及
我要发布
收藏
专利号: 2019100700834
申请人: 嘉兴尚坤科技有限公司
专利类型:发明专利
专利状态:已下证
更新日期:2026-04-09
缴费截止日期: 暂无
联系人

摘要:

权利要求书:

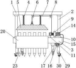
1.一种方便固定木桩的园林用打桩装置,包括顶板(1)、第一夹持板(18)和支撑腿(29),其特征在于:所述顶板(1)的下表面四角均焊接连接有支撑杆(2),且支撑杆(2)的下端焊接连接在底板(3)的上表面,所述顶板(1)的下表面左前端焊接连接有第一连接弹簧(4),且第一连接弹簧(4)的下端焊接连接在打桩锤(5)的上表面,所述打桩锤(5)的正中间固定连接有牵引绳(7),且牵引绳(7)从左到右依次贯穿第一定滑轮(6)和第二定滑轮(8),并且第一定滑轮(6)和第二定滑轮(8)的上端均焊接连接在顶板(1)的下表面;

所述牵引绳(7)的下端固定缠绕在绞盘(9)的外表面,且绞盘(9)的左端焊接连接有第一连接盘(10),所述绞盘(9)的左端活动连接有固定座(11),且固定座(11)的后侧内部活动连接有横轴(12),所述横轴(12)的右端焊接连接有第二连接盘(13),且第二连接盘(13)的右端固定安装有电机(14),所述电机(14)的右端固定连接有连接电线(15),且连接电线(15)的末端连接有蓄电池(16),所述蓄电池(16)的左侧设置有电动伸缩杆(17);

所述第一夹持板(18)滑动连接在底板(3)的前侧,且第一夹持板(18)的右端通过连接轴(19)活动连接有第二夹持板(20),所述第一夹持板(18)和第二夹持板(20)的内部均固定设置有夹持件(22),且第二夹持板(20)的左端活动连接有固定件(21),所述第一夹持板(18)的后侧左右两端均啮合连接有第一固定盘(24),且第一固定盘(24)的后侧连接有第二固定盘(25),并且且第一固定盘(24)的内部贯穿连接有调节栓(28),所述第二固定盘(25)的内部开设有固定槽(26),且固定槽(26)的内部连接有固定栓(27),所述支撑腿(29)焊接连接在底板(3)的下表面,且支撑腿(29)的下端焊接连接有万向轮(30)。

2.根据权利要求1所述的一种方便固定木桩的园林用打桩装置,其特征在于:所述打桩锤(5)的纵截面形状为梯形,且打桩锤(5)的下端长度尺寸与第一夹持板(18)和第二夹持板(20)的长度尺寸均相等。

3.根据权利要求1所述的一种方便固定木桩的园林用打桩装置,其特征在于:所述第一连接盘(10)的外表面和第二连接盘(13)的二分之一外表面均呈锯齿状结构,且第一连接盘(10)与第二连接盘(13)构成传动结构。

4.根据权利要求1所述的一种方便固定木桩的园林用打桩装置,其特征在于:所述固定件(21)在第二夹持板(20)上为转动结构,且固定件(21)与第一夹持板(18)的连接方式为卡合连接,并且第二夹持板(20)与第一夹持板(18)之间构成翻转结构。

5.根据权利要求1所述的一种方便固定木桩的园林用打桩装置,其特征在于:所述夹持件(22)在第一夹持板(18)和第二夹持板(20)的内部均等间距设置,且第一夹持板(18)上的夹持件(22)与第二夹持板(20)上的夹持件(22)一一对应设置,并且第一夹持板(18)的左右两端后表面均呈锯齿状结构。

6.根据权利要求1所述的一种方便固定木桩的园林用打桩装置,其特征在于:所述夹持件(22)包括底座(2201)、连接槽(2202)、连接杆(2203)、夹持块(2204)、滚珠(2205)和第二连接弹簧(2206),底座(2201)的内部镶嵌设置有连接槽(2202),连接槽(2202)的内部贯穿连接有连接杆(2203),连接杆(2203)远离连接槽(2202)的一端焊接连接有夹持块(2204),夹持块(2204)的内表面等间距设置有滚珠(2205),夹持块(2204)通过第二连接弹簧(2206)与底座(2201)相连接。

7.根据权利要求6所述的一种方便固定木桩的园林用打桩装置,其特征在于:所述连接杆(2203)关于夹持块(2204)的中轴线对称设置,且连接杆(2203)在连接槽(2202)的内部为伸缩结构。

8.根据权利要求6所述的一种方便固定木桩的园林用打桩装置,其特征在于:所述夹持块(2204)关于底座(2201)的中心呈环形阵列分布,且夹持块(2204)的纵截面形状为弧形。

9.根据权利要求1所述的一种方便固定木桩的园林用打桩装置,其特征在于:所述第一固定盘(24)和第二固定盘(25)的外表面均呈锯齿状结构,且第一固定盘(24)与第二固定盘(25)的连接方式为啮合连接。

10.根据权利要求1所述的一种方便固定木桩的园林用打桩装置,其特征在于:所述固定栓(27)的末端外径尺寸与固定槽(26)的内径尺寸相等,且固定栓(27)与固定槽(26)和底板(3)的连接方式均为螺纹连接。