利索能及
我要发布
收藏
专利号: 2018100329962
申请人: 常州大学
专利类型:发明专利
专利状态:已下证
更新日期:2026-04-09
缴费截止日期: 暂无
联系人

摘要:

权利要求书:

1.一种对金属管道内表面损伤处强化再制造的工艺方法,其特征是:具有以下步骤:

a:制作电极棒:电极棒的各原料组分如下:Mo为15.5~16.5at%,Cr为6.5~7.5at%,Fe为3.5~4.5at%,Si为0.55~0.65at%,Mn为0.45~0.55at%,Ti+Al+Ta为1.5~

2.5at%,其余为Ni,采用真空电弧熔炼的方法熔炼后,将电极棒置于800℃氩气气氛中热保温处理48小时,对电极棒表面进行处理;

b:管道内表面损伤处预处理:先采用喷砂方式对管道内表面损伤处进行喷砂处理后再用丙酮清洗,除去损伤部位的杂质和油污;

c:管道内表面损伤处强化再制造:首先用接在电源负极的磁铁吸附在管道内表面确定好的损伤处附近,距离控制在10~15厘米;然后将处理好的镍基合金材料制成的电极棒置于喷枪的喷头内,将安装有高能微弧喷枪的喷枪小车开动到待修复的管道损伤处,启动喷枪,同时使喷枪在管道截面范围内作摆动,以电极棒作为正极,金属管道作为负极,对管道损伤处进行涂层沉积强化处理。

2.根据权利要求1所述的对金属管道内表面损伤处强化再制造的工艺方法,其特征是:

步骤a中,制作电极棒的各原料组分如下:Mo含量为16at%,Cr含量为7at%,Fe含量为

4at%,Si含量为0.6at%,Mn含量为0.5at%,Ti+Al+Ta含量为2at%,其余为Ni,先采用真空电弧熔炼的方法获得镍基合金材料,然后将镍基合金材料加工成直径3~5mm、长度为80mm的电极棒,用400目砂纸将电极棒表面打磨平整后,用丙酮清洗除油、水洗并用冷风吹干以备用。

3.根据权利要求1所述的对金属管道内表面损伤处强化再制造的工艺方法,其特征是:

步骤b中,喷砂前,先使用超声波无损检测系统确定管道内部需要强化再制造位置,然后利用管道内壁喷砂器对损伤部位进行喷砂处理,除去损伤部位的杂质和油污,并利用抽风机产生的负压把磨料回收到料斗里,实现喷砂的循环利用。

4.根据权利要求1所述的对金属管道内表面损伤处强化再制造的工艺方法,其特征是:

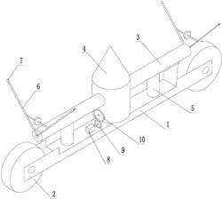
步骤c中所述的喷枪小车:包括车架和安装在车架两端的车轮,车架上方设有水平轴,水平轴上安装有可绕水平轴摆动的喷枪,水平轴与车架之间安装有升降调节喷枪高度的压力传感器,水平轴的两端分别安装有利用分规原理实现开合的支架,所述支架顶端安装有滚轮,首先通过压力传感器升降调节喷枪,使喷枪的喷头顶端位置与管道内表面待修复处达到满足施加涂层的距离,再调节水平轴两端利用分规原理开合的支架,使支架顶端的滚轮与管道内表面接触,将喷枪小车支撑在管道周壁;然后将喷枪小车开动到待修复部位,启动喷枪,同时喷枪绕水平轴在管道截面内作摆动,从而对管道内表面待修复部位进行涂层沉积强化。

5.根据权利要求4所述的对金属管道内表面损伤处强化再制造的工艺方法,其特征是:

所述的车架上安装有可随喷枪高度调节而调整位置的可控电机,可控电机输出轴上安装有主动齿轮,喷枪侧面安装有与主动齿轮啮合传动而实现喷枪绕水平轴摆动的从动齿轮。

6.根据权利要求4所述的对金属管道内表面损伤处强化再制造的工艺方法,其特征是:

步骤c涂层沉积强化时选用工艺参数为:沉积电源选用单向脉冲电源,先设计额定的沉积功率为1500W前提下沉积时间3~5min:设定沉积电压为70~90V;电流脉宽为200~400μs;频率为400~600Hz;电极旋转速度为1500~3500r/min,占空比为10%,最终获得的涂层厚度在30~80μm之间。

7.根据权利要求4所述的对金属管道内表面损伤处强化再制造的工艺方法,其特征是:

步骤c中,涂层沉积强化时辅助以流速在200~1000ml/min的惰性气体,使涂覆材料在沉积过程中可以完全隔绝氧气。

8.根据权利要求4所述的对金属管道内表面损伤处强化再制造的工艺方法,其特征是:

涂层沉积强化结束后,进行机械打磨和砂纸打磨抛光,消除表面缺陷,提升表面平整和光洁度。