利索能及
我要发布
收藏
专利号: 201810032977X
申请人: 浙江国信房地产营销策划有限公司
专利类型:发明专利
专利状态:已下证
更新日期:2025-03-03
缴费截止日期: 暂无
联系人

摘要:

权利要求书:

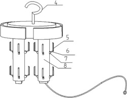
1.防褶皱长裤晾衣架,由电动伸缩杆、腰部支撑板、腰部中心柱、衣钩、腿部支撑板、可控杆、电机、腿部中心柱、单片机控制器、供电器与电线及其插头组成,其特征在于:防褶皱长裤晾衣架由腰部支撑板、腰部中心柱、腿部支撑板、腿部中心柱以及衣钩组成框架主体,其中,腿部中心柱一共有两只,分别连接于腰部中心柱底部的左右两端,左右两端的腿部中心柱对称分布,晾衣架衣钩连接于腰部中心柱的顶部,并且,晾衣架衣钩在形状上可分为竖直部分与衣钩部分,晾衣架衣钩的竖直部分与腰部中心柱的竖直方向对齐,防褶皱长裤晾衣架的内部电线以及相关数据线位于腰部中心柱与两只腿部中心柱内;电动伸缩杆安装在腰部中心柱与四块腰部支撑板之间,其中每块腰部支撑板上安装有一只电动伸缩杆,总共有四只电动伸缩杆,当防褶皱长裤晾衣架处于收缩状态下时,电动伸缩杆也处于收缩状态,电动伸缩杆的展开方向由内向外,电动伸缩杆的安装目的在于,当防褶皱长裤晾衣架处于展开状态下时,加大腰部支撑板支撑衣物腰部的范围;电机安装在腿部中心柱的不同位置,并且电机固定在其所在的柱的横切面的外围,每个电机对应连接着一个可控杆,每个可控杆上对应固定一个腿部支撑板;安装在腿部中心柱上的电机由单片机控制器控制运行,电机通过旋转的动作方式带动可控杆旋转,进而展开或收缩固定在可控杆上的腿部支撑板,腿部中心柱上的腿部支撑板共有十六个,十六个可分为四组,每组中的四个腿部支撑板呈中心对称分布在左右两只腿部中心柱上,每只腿部中心柱上有两组腿部支撑板,同组的腿部支撑板伸展或收缩时同步;单片机控制器连接在左侧腿部中心柱的底部;供电器连接在右侧腿部中心柱的底部,外部电源通过与供电器连接的电线及其插头对晾衣架供电;

所述的单片机控制器通过腰部中心柱和两只腿部中心柱内的数据线连接电机和电动伸缩杆,并控制着电机和电动伸缩杆的工作方式;单片机控制器的内部设定有固定的运行程序,当供电器接通时,单片机控制器通过其内部设定的运行程序控制电机和电动伸缩杆的正常工作,首先,电动伸缩杆收缩,与此同时,两侧的腿部中心柱上的电机带动可控杆向腿部中心柱的中心轴旋转,电机和电动伸缩杆同时完成旋转和收缩动作,如此,防褶皱长裤晾衣架完成收缩;收缩过程完成之后有三秒钟的等待时间,三秒钟的等待时间过后,电动伸缩杆伸长,与此同时,上述不同位置的电机均朝向相反方向旋转,电机和电动伸缩杆同时完成旋转和展开动作,如此,防褶皱长裤晾衣架完成展开,并且,单片机控制器内的运行程序全部运行完成;每次接通供电器时,单片机控制器内的运行程序均运行且只运行一次。