利索能及
我要发布
收藏
专利号: 2017103558795
申请人: 柳州博泽科技股份有限公司
专利类型:发明专利
专利状态:已下证
更新日期:2026-04-09
缴费截止日期: 暂无
联系人

摘要:

权利要求书:

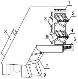
1.一种用于纺织生产的送纱机,包括储纱仓(1),其特征在于:所述储纱仓(1)下方设置第一送纱架(2),且所述第一送纱架(2)一侧设置上滑槽(3),所述上滑槽(3)下方设置第二送纱架(4),且所述第二送纱架(4)一侧设置下滑槽(5),所述下滑槽(5)下方设置续纱盘(6),且所述续纱盘(6)下方设置纺纱仓(7),所述纺纱仓(7)一侧设置电机盘(8),且所述电机盘(8)下方设置底座(9),所述储纱仓(1)内部设置卷纱盘(10),且所述第二送纱架(4)上设置抓架(11),所述抓架(11)一侧设置传动带(12),且所述传动带(12)下方设置送纱辊(13),所述送纱辊(13)下方设置连接摆杆(14),且所述连接摆杆(14)下方设置摆动支架(15),所述摆动支架(15)一侧设置活动支架(16),且所述抓架(11)上设置穿接环(17),所述活动连架(16)上设置内滑槽(18),且所述内滑槽(18)一侧设置滑杆(19),所述送纱辊(13)上设置送纱圈(20),且所述送纱圈(20)上设置卷槽(21),所述卷槽(21)一侧设置距离感应器(22)。

2.根据权利要求1所述的一种用于纺织生产的送纱机,其特征在于:所述电机盘(8)与所述第一送纱架(2)、第二送纱架(4)均呈活动连接。

3.根据权利要求1所述的一种用于纺织生产的送纱机,其特征在于:所述送纱辊(13)上设置若干个送纱圈(20)。

4.根据权利要求1所述的一种用于纺织生产的送纱机,其特征在于:所述内滑槽(18)为圆弧形结构。

5.根据权利要求1所述的一种用于纺织生产的送纱机,其特征在于:所述第一送纱架(2)上设置若干个抓架(11)。

6.根据权利要求1所述的一种用于纺织生产的送纱机,其特征在于:所述活动连架(16)为三角锥形结构。

7.根据权利要求1所述的一种用于纺织生产的送纱机,其特征在于:所述储纱仓(1)内部设置若干个卷纱盘(10)。

8.根据权利要求1所述的一种用于纺织生产的送纱机,其特征在于:所述纺纱仓(7)下方设置若干个底座(9)。