利索能及
我要发布
收藏
专利号: 2016101044839
申请人: 金方明
专利类型:发明专利
专利状态:已下证
更新日期:2026-04-09
缴费截止日期: 暂无
联系人

摘要:

权利要求书:

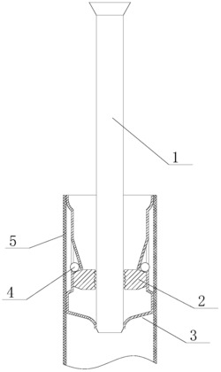
1.一种洁具用管内固定连接机构,包固定用螺栓、固定螺母、管内紧箍件、卡簧和置物杆,其特征在于所述的固定螺母与固定用螺栓配合,所述的管内紧箍件套于固定螺母的外侧,所述卡簧设于所述管内紧箍件上,所述置物杆设于管内紧箍件的外侧;所述的管内紧箍件包括两片半圆弧状的紧箍片,所述的紧箍片上端设有第一突起部,下部设有第二突起部,所述的第一突起部和第二突起部之间设有内凹部,所述的内凹部中间设有向内翻折的倒钩,所述紧箍片的下端设有收口部;

所述的倒钩的开口朝向所述收口部,两片紧箍片相对合起之后所述的倒钩下端顶在所述固定螺母的上表面上,卡簧卡在所述倒钩的外侧,所述的第一突起部的顶端和所述的置物杆的顶端焊接固定,所述的第二突起部与所述置物杆内壁贴合,所述的收口部与所述固定用螺栓的尾部过盈配合;

上述洁具用管内固定连接机构的使用方法为:采用普通膨胀螺栓的安装方式将固定用螺栓和膨胀管打入墙体内,然后将固定装饰盖和固定套管依次套在固定用螺栓的外侧,拧紧固定螺母后,在固定装饰盖的凹槽内套上垫圈,将带有管内紧箍件的置物杆直接套在固定用螺栓的尾部插紧即可;安装后所述倒钩的下端顶在固定螺母的上表面上,且由卡簧固定,第一突起部和第二突起部均与置物杆的内壁贴合,使得置物杆更易定位,收口部与固定用螺栓的尾部为过盈配合,使得管内紧箍件不易滑脱,从而连接关系更为牢固。