利索能及
我要发布
收藏
专利号: 201610023711X
申请人: 胡士龙
专利类型:发明专利
专利状态:已下证
更新日期:2025-12-17
缴费截止日期: 暂无
联系人

摘要:

权利要求书:

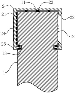
1.一种盲人楼梯扶手,包括设在楼梯上的扶手本体(1),其特征在于:所述的扶手本体(1)上设有滑套(2),所述的滑套(2)内分别设有微处理器、气压传感器、发电装置和蓄电池,滑套(2)内侧设有若干滚轮(21),所述的滚轮(21)与扶手本体(1)抵靠且能通过滑动所述的滚轮(21)使滑套(2)沿着扶手本体(1)长度方向滑动,并能通过滑动滚轮(21)使所述的发电装置为蓄电池充电,且在每个楼层的扶手本体(1)上设有弹性金属凸起(11)和与该楼层对应的弹性盲文凸起(12),所述的滑套(2)上设有圆孔(22),且能通过滑动滑套(2)使所述的盲文凸起(12)置于圆孔(22)内,所述的滑套(2)上还设有与金属凸起(11)配合的凹槽(23),所述的凹槽(23)内设有与微处理器连接的按键,且所述的金属凸起(11)能置于所述的凹槽(23)内并挤压所述的按键,滑套(2)上还设有数码显示屏(24),所述的气压传感器和数码显示屏(24)均与微处理器连接,且当气压传感器感应到高度变化,同时按键受到金属凸起(11)挤压时,所述的微处理器控制数码显示屏(24)显示相应的数字,所述的微处理器、气压传感器和数码显示屏(24)均通过所述的蓄电池供电。

2.根据权利要求1所述的一种盲人楼梯扶手,其特征在于:滑套(2)上还设有带光源的方向指示标记(25),所述的指示标记(25)通过所述的蓄电池供电。

3.根据权利要求2所述的一种盲人楼梯扶手,其特征在于:所述的扶手本体(1)上沿扶手本体(1)长度方向设有条形滑槽(13),所述的滑套(2)设有与滑槽(13)配合的滑块(26),且所述的滑块(26)嵌在所述的滑槽(13)内并能使所述的滑套(2)沿着滑槽(13)长度方向滑动。

4.根据权利要求3所述的一种盲人楼梯扶手,其特征在于:所述的扶手本体(1)具有朝向楼梯内侧设置的扶手本体(1)内侧面和与扶手本体(1)内侧面反向的扶手本体(1)外侧面,所述的盲文凸起(12)设在扶手本体(1)外侧面上,所述的数码显示屏(24)设在与扶手本体(1)内侧面相对的滑套(2)外侧上。